EasyManua.ls Logo

Pitney Bowes J693 - Indicator Lights; LCD (Display)

Pitney Bowes J693
109 pages
Print Icon
To Next Page IconTo Next Page
To Next Page IconTo Next Page
To Previous Page IconTo Previous Page
To Previous Page IconTo Previous Page
Loading...
16 J693
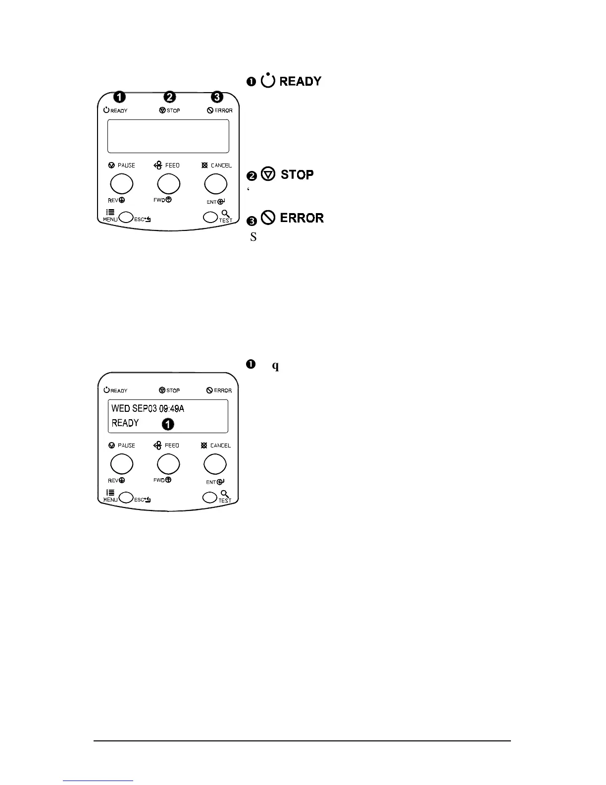
4.0.4 Indicator Lights
n
‘On’ indicates READY Mode.
‘Slow Flashing’ indicates Menu Mode.
‘Fast Flashing’ indicates data is being received
and processed.
o
‘On’ indicates a ‘Paused’ state.
p
‘Slow Flashing’ indicates a Warning.
‘Fast Flashing’ indicates a Fault.
See Section 6.1 for a list of the display messages.
4.0.5 LCD (Display)
n
Liquid Crystal Display
The display provides several types of information:
Following a brief power-up sequence, the
READY message.
The time and date, if the printer has received it
from one of the following: the host, the front
panel setting, or the Time and Date option.
A label counter during a
batch print job.
Any prompt, condition, downloading, warning,
or fault message.
The Menu System when in the Menu Mode.

Table of Contents