EasyManua.ls Logo

Pitney Bowes J693 - Advanced Entry Calibration

Pitney Bowes J693
109 pages
Print Icon
To Next Page IconTo Next Page
To Next Page IconTo Next Page
To Previous Page IconTo Previous Page
To Previous Page IconTo Previous Page
Loading...
J693 47
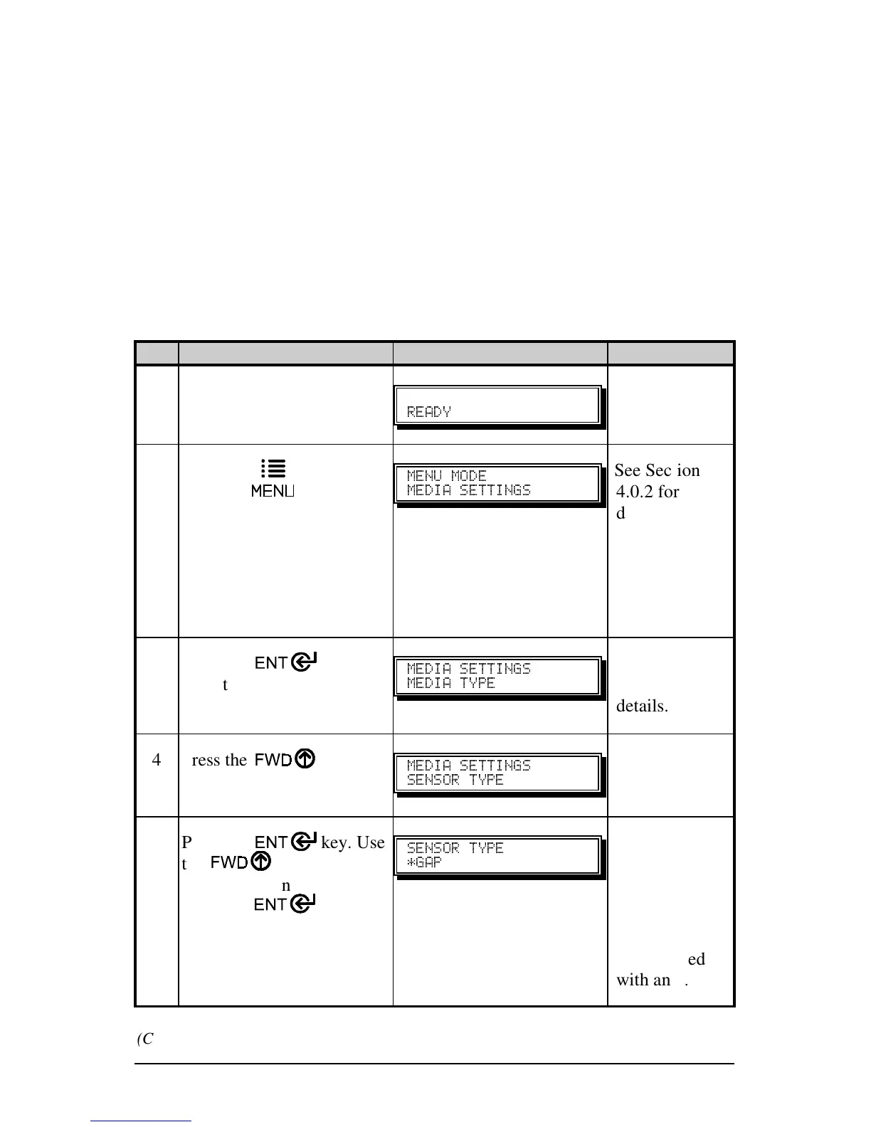
5.2.2 Advanced Entry Calibration
The second calibration method is the Advanced Entry Calibration. This method
overrides all previous calibration settings and should be used only when the
Standard Calibration method has failed. The procedure has two parts:
1) Sensor Gain: Different algorithms are used for sampling, to produce
different measurements for the media.
2) Sensor Levels: At a selected gain, values are directly input for ‘Paper’,
‘Mark’ or ‘Gap’, and ‘Empty’ variables.
To perform an Advanced Entry Calibration:
Step Operator Action Displayed Message Comment
1
Turn ‘On’ the printer.
"
2
Press the
key to enter
Menu Mode.
Raise the printhead
assembly for visual access
to the Media Sensor and
media.
 
" 
See Section
4.0.2 for
details.
3
Press the
key to
enter the Media Settings
menu.
" 
"
See Section
4.1.1 for
details.
4
Press the key.
" 
 
See Section
4.1.1 for
details.
5
Press the key. Use
the key to scroll to
the desired sensor type and
press the
key to
enable the selection.
 
J"
See Section
4.1.1 for
details.
The enabled
selection will
be indicated
with an *
.
(Continued next page)

Table of Contents