EasyManua.ls Logo

protech PS3100 Series - Page 95

protech PS3100 Series
115 pages
Print Icon
To Next Page IconTo Next Page
To Next Page IconTo Next Page
To Previous Page IconTo Previous Page
To Previous Page IconTo Previous Page
Loading...
Appendix A System Assembly
PS3100 SERIES USER
S MANUAL
Page: A-9
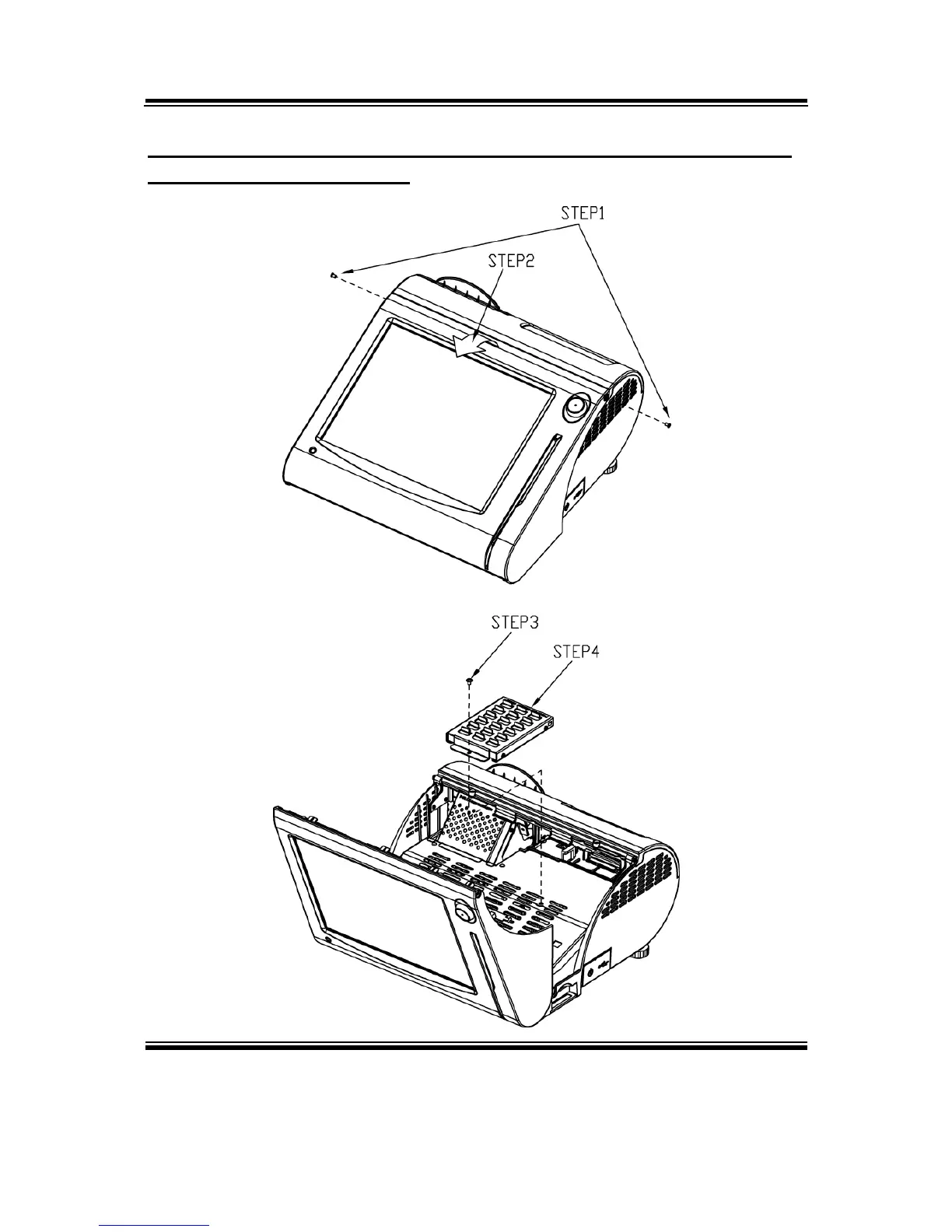
EXPLODED DIAGRAM FOR THERMAL PRINTER CONTROL
PCB REMOVE/ INSTALL

Table of Contents

Related product manuals