EasyManua.ls Logo

Riello MULTI SENTRY MST 60 - Rear View

Riello MULTI SENTRY MST 60
56 pages
Print Icon
To Next Page IconTo Next Page
To Next Page IconTo Next Page
To Previous Page IconTo Previous Page
To Previous Page IconTo Previous Page
Loading...
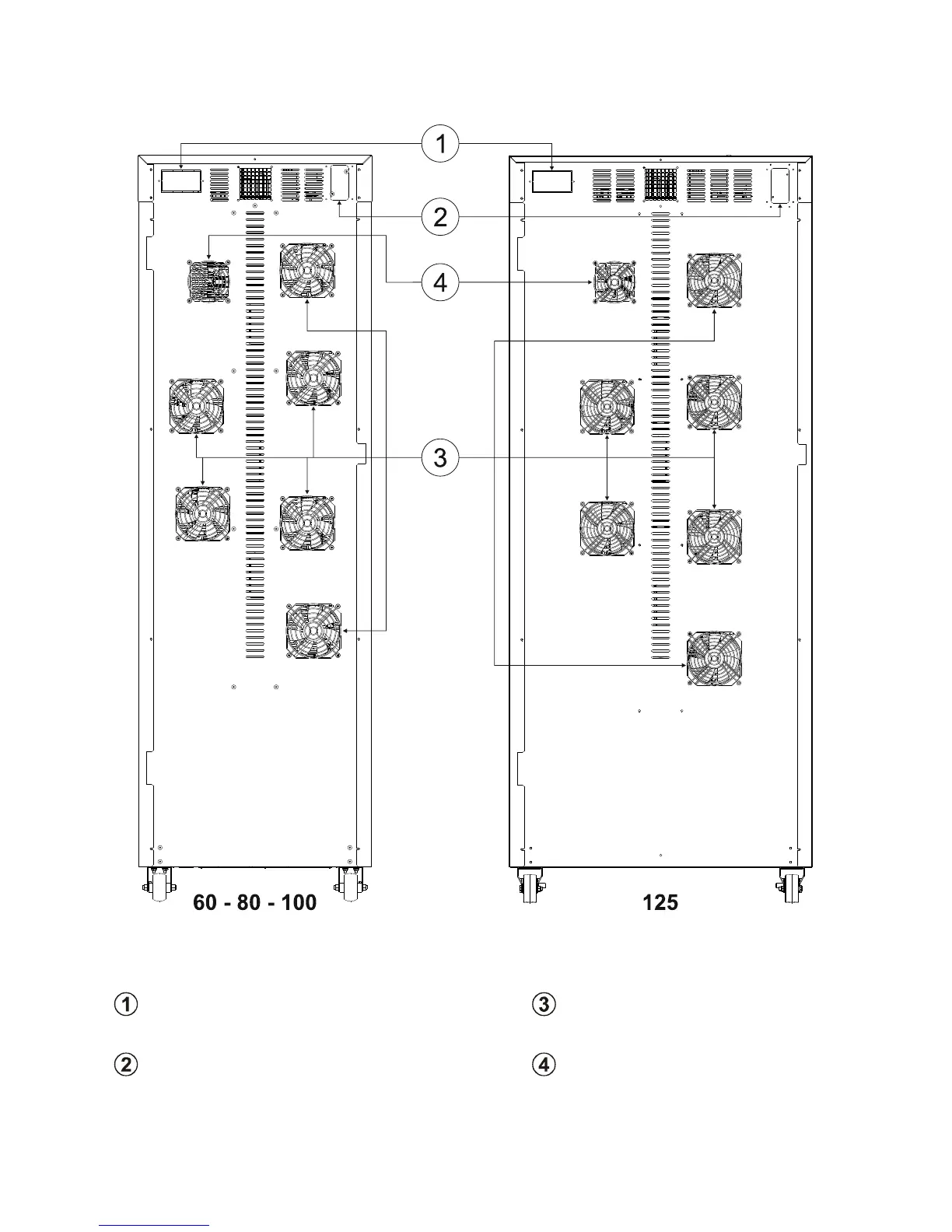
REAR VIEW
EnergyShare / Aux Output sockets (10A max.)
and relative protection (optional)
Power board fans
MultiCOM 382 contacts board” accessory
housing
Battery charger fan

Table of Contents

Related product manuals