EasyManua.ls Logo

Riello MULTI SENTRY MST 60 - Switches View

Riello MULTI SENTRY MST 60
56 pages
Print Icon
To Next Page IconTo Next Page
To Next Page IconTo Next Page
To Previous Page IconTo Previous Page
To Previous Page IconTo Previous Page
Loading...
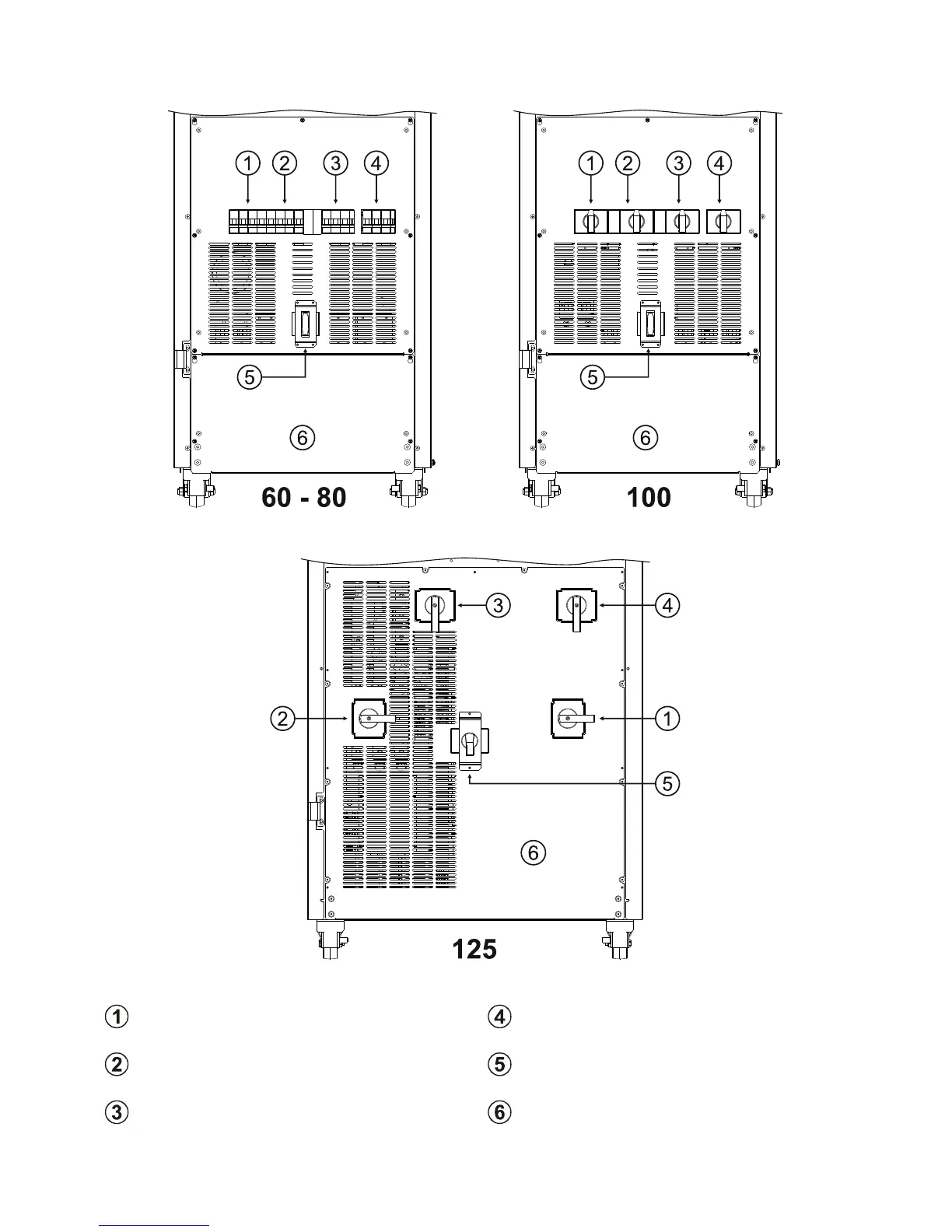
SWITCHES VIEW
SWIN” Input switch
SWOUT” Output switch
SWBYP” Separate bypass switch (optional)
QN” Switch for service personnel use only
SWMB” Manual bypass switch
Terminal cover (MST 60-100) / bar cover (MST 125)

Table of Contents

Related product manuals