EasyManua.ls Logo

Riello MULTI SENTRY MST 60 - Communications Area View

Riello MULTI SENTRY MST 60
56 pages
Print Icon
To Next Page IconTo Next Page
To Next Page IconTo Next Page
To Previous Page IconTo Previous Page
To Previous Page IconTo Previous Page
Loading...
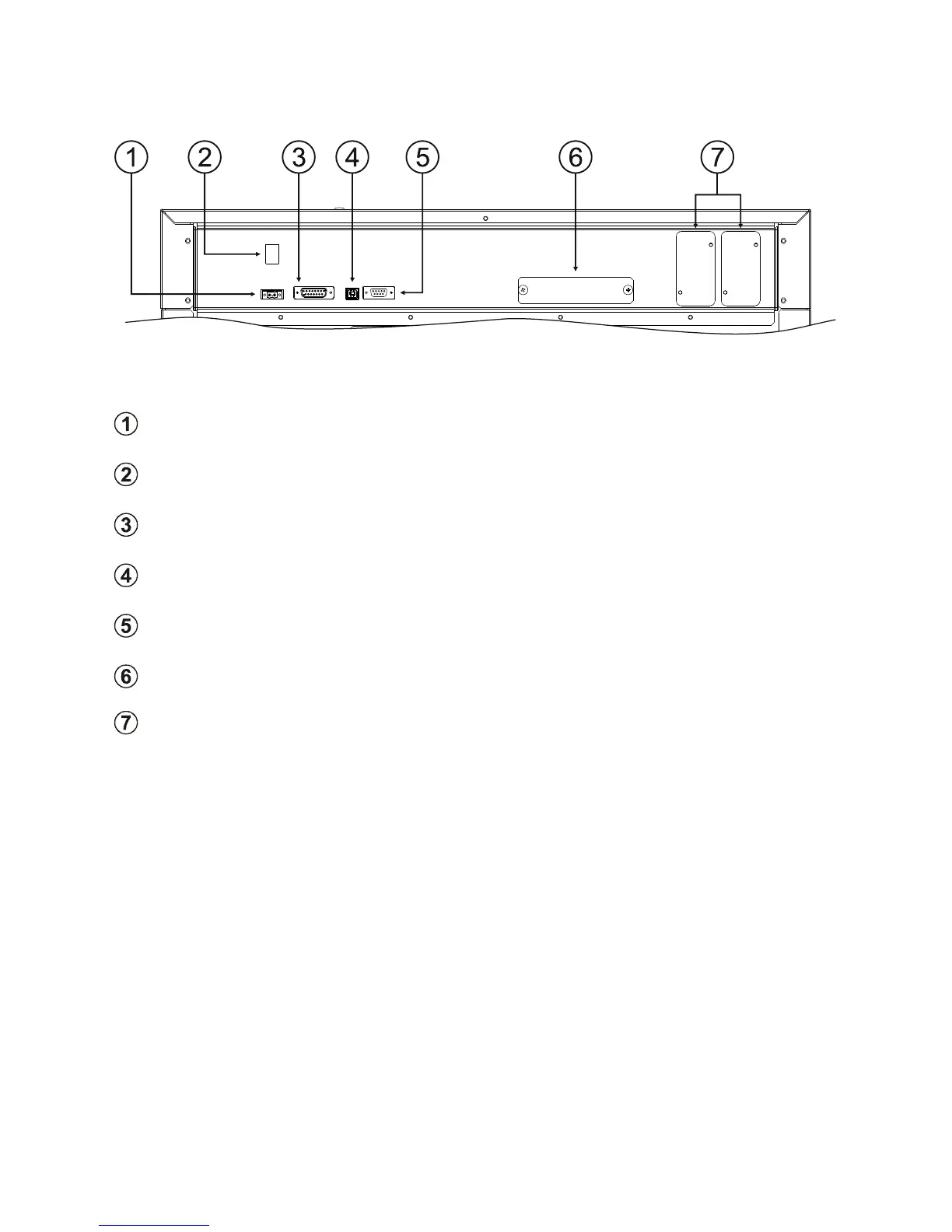
COMMUNICATIONS AREA VIEW
R.E.P.O. Remote Emergency Power Off
COLD START battery start-up button
AS400” Contacts port
USB” communication port
RS232” communication port
UPS Parallel Board” housing (optional)
Slot for communication accessory boards

Table of Contents

Related product manuals