EasyManua.ls Logo

Roland SUPER JX - Page 9

Roland SUPER JX
88 pages
Print Icon
To Next Page IconTo Next Page
To Next Page IconTo Next Page
To Previous Page IconTo Previous Page
To Previous Page IconTo Previous Page
Loading...
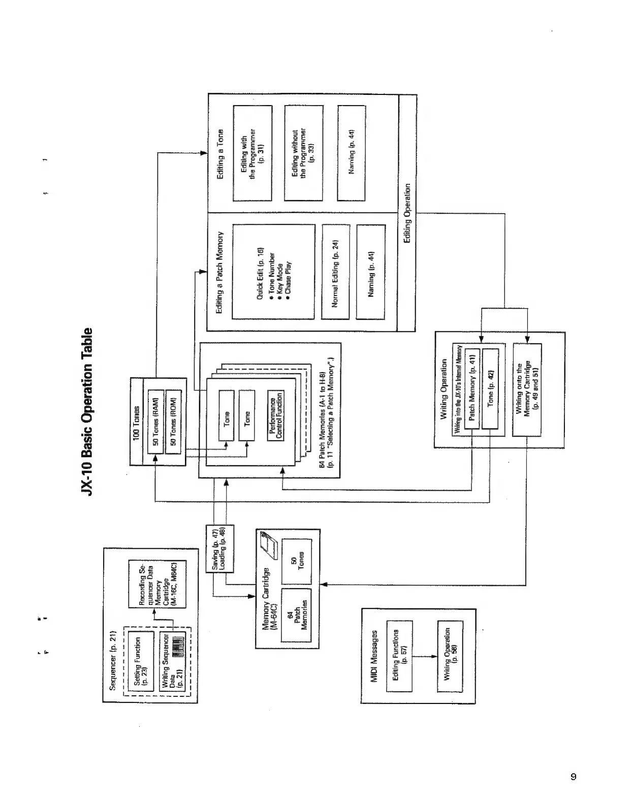
(1g
pue
6p
“d)
BGipyyeg
Aiowayy
ay
oo
BunuAA
uoneradg
Burpy
{yb
“d)
Buyer
(bp
“d)
Buyen
(pe
-d)
Gunipa
jeuuoy
{ee
‘d)
Jawiuesboig
aut
anoyum
Bunip3
Ab
|g
BSEYD
©
apoyy
Aay
JOQWUNY
BU}
@
(Le
‘d}
{at
4)
wpa
yajnp
JauuesBosg
ayy
yum
Bunipa
auoy
2
6unipy
Aroway
yajey
e
Guyipy
{2p
‘d)
auoy
{tp
‘dj
Aowayy
yneg
Avowrayy
jeuraIKy
§04-xp
a9
chu:
Buy
uonesadg
Bunua,
(Arowayy
yneg
@
Bunoajag,
11
“d)
{8-H
OF
t-y}
Sayoway
ydIed
7g
{WOu)
Sau01
OS
{Wivu)
Seu0]
0S
S8U0]
OOL
aqey
UoHesedyC
dJiseg
OL
(as
‘a
uonesadg
Bunuyy,
{4
d)
suoyauny
Bunip3
safessayy
IGIW
SBLOLUaYy
yale
os
v9
(3p9-1A)}
aBpuueg
Mowe)
(gy
°d)
Buypeo
{2b
“d)
Buywes
“xf
{Ova
'D91-)
aBpuuey
Arousayy
2jeq
Jaoquanb
(ez-d)
-
ez
9g
Guypioosy
uonouny
Buiyas
{bz
‘d}
saauanbas

Related product manuals