EasyManua.ls Logo

Roxell SparkCup - Automatic Flushing System Operation

Default Icon
28 pages
Print Icon
To Next Page IconTo Next Page
To Next Page IconTo Next Page
To Previous Page IconTo Previous Page
To Previous Page IconTo Previous Page
Loading...
ROXELL --025 -- 0511
SPARKcup -- USER'S GUIDE -- E U G
14
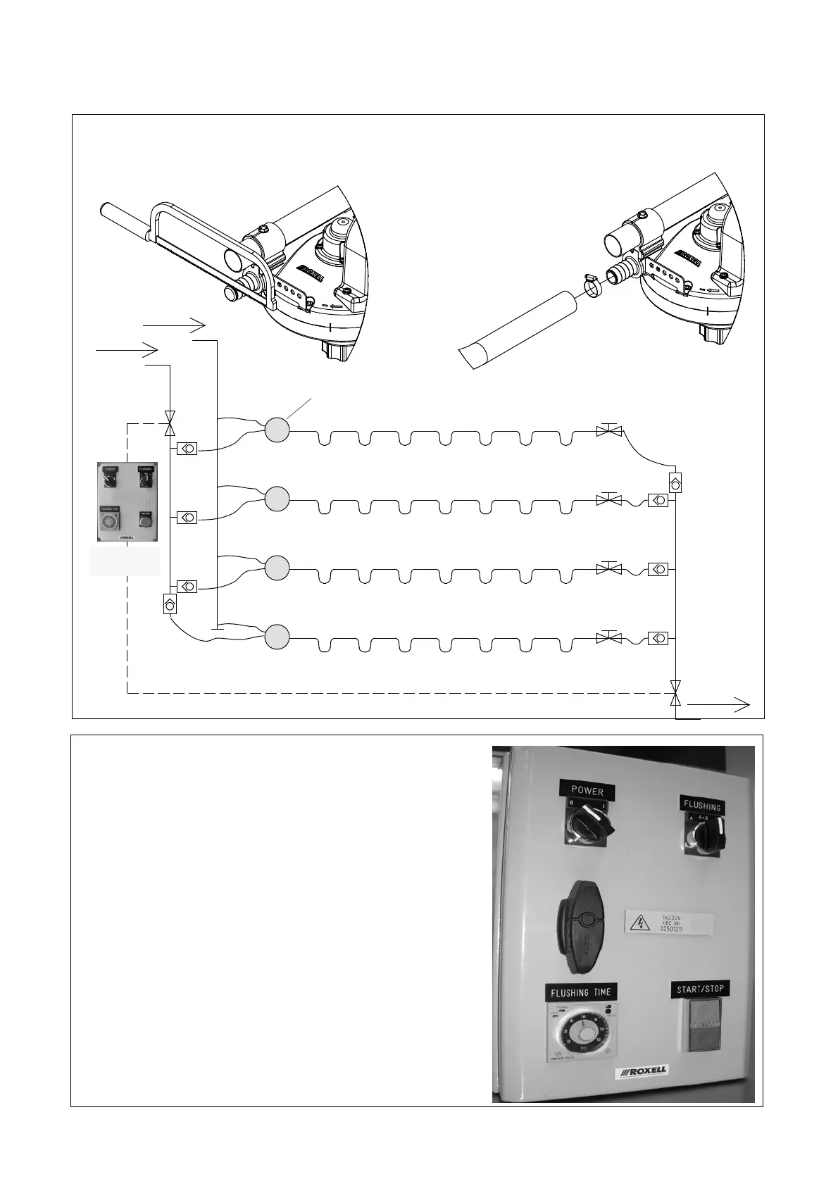
OPTIONAL : AUTOMATIC FLUSHING
Figure 13.
CONDUIT LAYOUT FOR AUTOMATIC FLUSHING, FRONTAL PRESSURE REGULATORS.
Flush
IN
OUT
Pressure regulator
Control
box 230V
PR
PR
PR
PR
Pressure regulator Pressure regulator
Figure 14.
1. Connect the lines one to another at the front and rear of the
house with the collector tube that is connected to a controlled
cock.
2. Set the flushing time on the time clock below.
Optimum flushing = 1 minute per 10m line length.
3. Put the selection button on A, B or A+B, according to the
house layout (yes or not divided).
4. Press the manual start button. The box will activate all valves
in the correct sequence and for the time programmed.

Related product manuals