EasyManua.ls Logo

Ruhrpumpen VLT - Page 24

Ruhrpumpen VLT
81 pages
Print Icon
To Next Page IconTo Next Page
To Next Page IconTo Next Page
To Previous Page IconTo Previous Page
To Previous Page IconTo Previous Page
Loading...
VLT
Vertical Process Pump
24 V1.090418
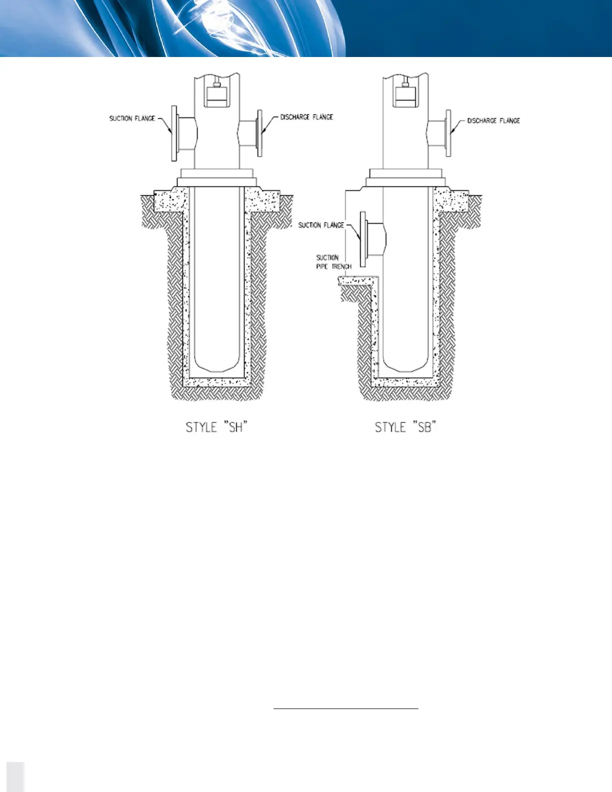
Figure 4.5 Above ground suction nozzle (style SH”) and below ground suction nozzle (style “SB”).
5. Check that the suction can is free from any foreign material. Place the suction can in its
place on the drilled hole.
6. Tie a rope or chain around the nozzle head to lift the pump of its wooden shipping skid. On
longer units (in excess of 8 feet [2.5 m]) tie an additional rope or chain halfway down the
bowl assembly to avoid imposing additional strain in the pump.
7. Place the suction can O-ring gasket in its place.
8. Lower the pump inside the suction can and secure it using the suction can’s studs and
nuts.
9. Connect the piping to the suction and discharge flanges, being careful as to not impose
any stress on either flange.
10. Open the vent plug on the nozzle prior to the pump’s start up to assure that the pump will
not operate in a dry state.
11. Mount the driver as described in Section 4.3.2 Driver Mounting.

Table of Contents

Related product manuals