EasyManua.ls Logo

Sam4s ellix 30 - Page 12

Sam4s ellix 30
27 pages
Print Icon
To Next Page IconTo Next Page
To Next Page IconTo Next Page
To Previous Page IconTo Previous Page
To Previous Page IconTo Previous Page
Loading...
- 7 -
---------------------------------------------------------------------------------------------------------
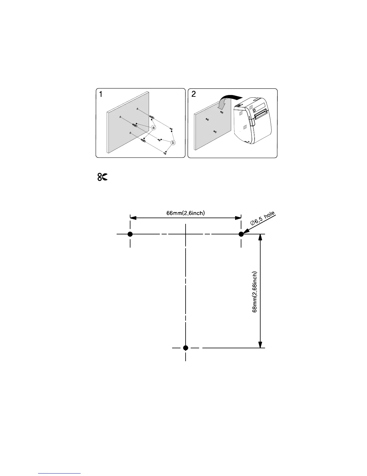
Cut it for the fix wall mount bracket.
#. Wall mounting hole data

Related product manuals