EasyManua.ls Logo

Samsung LN2A620A1F - Installing Batteries in the Remote Control; Using the Remote Control Backlight Buttons

Samsung LN2A620A1F
263 pages
Print Icon
To Next Page IconTo Next Page
To Next Page IconTo Next Page
To Previous Page IconTo Previous Page
To Previous Page IconTo Previous Page
Loading...
English - 8
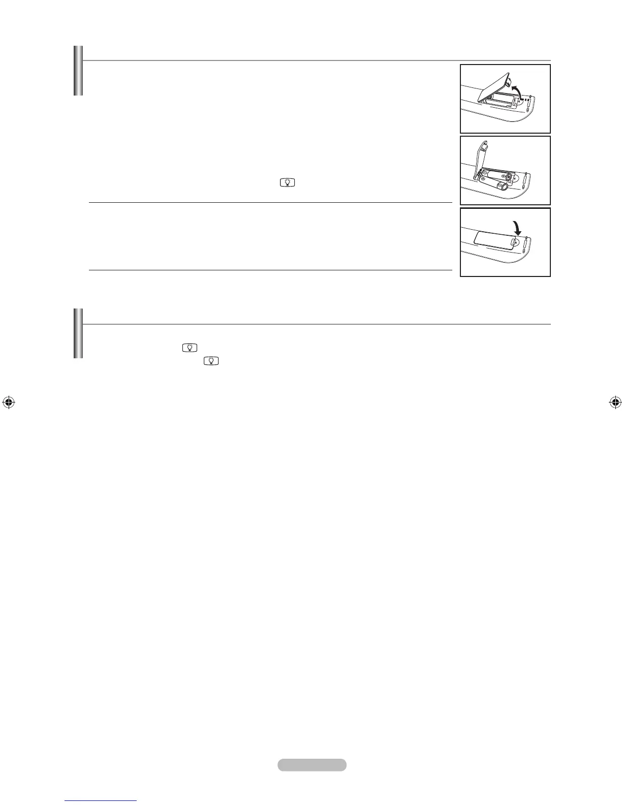
Installing Batteries in the Remote Control
1. Lift the cover at the back of the remote control upward as shown in the gure.
2. Install two AAA size batteries.
Make sure to match the “+” and “–” ends of the batteries with the diagram inside the
compartment.
3. Replace the cover.
Remove the batteries and store them in a cool, dry place if you won’t be using the
remote control for a long time.
The remote control can be used up to about 23 feet from the TV.
(Assuming typical TV usage, the batteries should last for about one year.)
Using the remote control with the ON/OFF light button set to On will reduce the
battery usage time.
If the remote control doesn’t work, check the following:
1. Is the TV power on?
2. Are the plus and minus ends of the batteries reversed?
3. Are the batteries drained?
4. Is there a power outage or is the power cord unplugged?
5. Is there a special uorescent light or neon sign nearby?
Using the Remote Control Backlight Buttons
Use this feature in dark surroundings and when you are unable to see the remote control buttons clearly.
1. Press the ON/OFF light button.
Pressing the ON/OFF light button toggles between ON and OFF.
When ON, the button backlight is turned on for a moment.
Pressing a remote control button when the remote control is on turns the button backlight on for a moment.
The remote contains two small movement sensors that control the backlight function. If you shake or drop the
remote, you may hear the sensors rattle. This is normal and is not a defect.
The button backlight will not be turned on when the remote control is turned off.
BN68-01800A-01Eng.indb 8 2008-10-24 �� 10:43:50

Table of Contents

Related product manuals