EasyManua.ls Logo

Scania DC12 - Page 19

Scania DC12
65 pages
Print Icon
To Next Page IconTo Next Page
To Next Page IconTo Next Page
To Previous Page IconTo Previous Page
To Previous Page IconTo Previous Page
Loading...
© Scania CV 2009 19
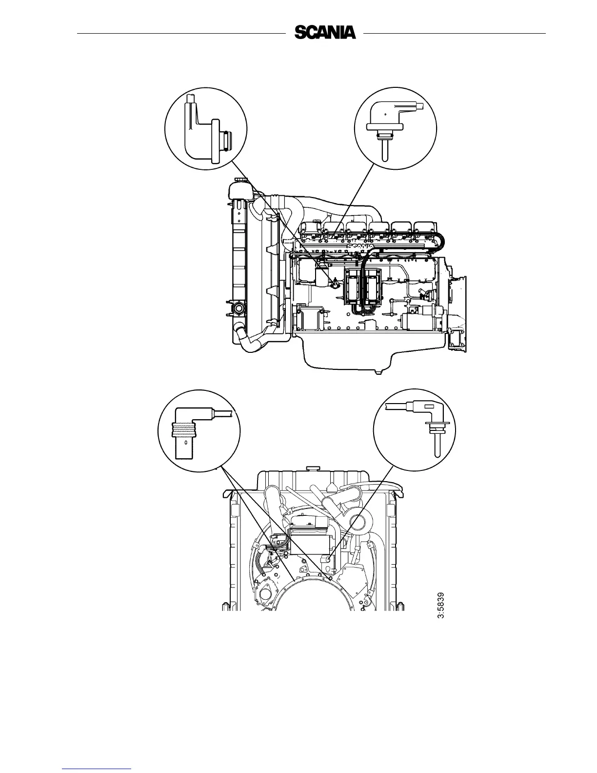
Location of sensors for EMS with S6 on DC12
2
3
4
1
1. Oil pressure sensor
2. Charge air temperature and pressure sensor
3. Coolant temperature sensor
4. Engine speed sensor (2)

Table of Contents

Other manuals for Scania DC12

Related product manuals