EasyManua.ls Logo

Scotchman 6509-24FF - Page 23

Scotchman 6509-24FF
161 pages
Print Icon
To Next Page IconTo Next Page
To Next Page IconTo Next Page
To Previous Page IconTo Previous Page
To Previous Page IconTo Previous Page
Loading...
Page 23
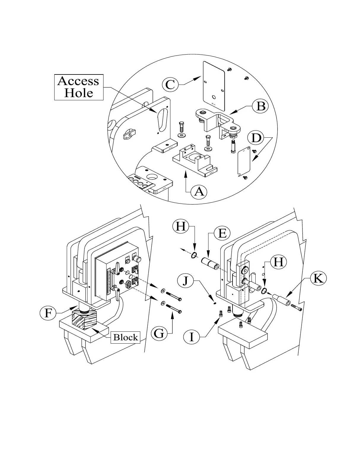
FIGURE 7

Table of Contents

Related product manuals