EasyManua.ls Logo

Selco Genesis 2000 - Presentazione Dellimpianto; Generalità; Pannello Comandi Frontale (Genesis 2000); Pannello Comandi Frontale (Genesis 2000 RC)

Selco Genesis 2000
Print Icon
To Next Page IconTo Next Page
To Next Page IconTo Next Page
To Previous Page IconTo Previous Page
To Previous Page IconTo Previous Page
Loading...
3 PRESENTAZIONE DELL’IMPIANTO
3.1 Generalità
Questi generatori ad inverter a corrente costante sono in grado
di eseguire in modo eccellente i procedimenti di saldatura:
- MMA,
- TIG con partenza a contatto con riduzione della corrente di
corto circuito (TIG LIFT-START).
Nelle saldatrici ad inverter la corrente di uscita è insensibile alle
variazioni della tensione di alimentazione e della lunghezza del-
l’arco ed è perfettamente livellata fornendo la migliore qualità
nella saldatura.
Sul generatore sono previsti:
- una presa positivo (+), una presa negativo (-),
- un pannello comandi frontale,
- un pannello posteriore,
- un connettore posteriore per comando remoto.
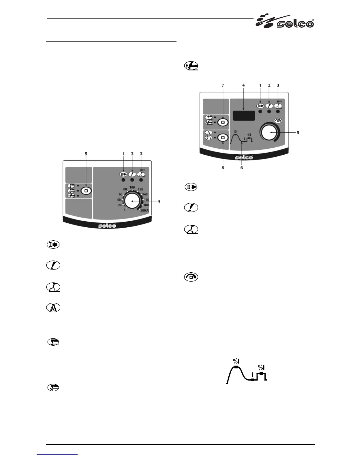
3.2 Pannello comandi frontale (Genesis 2000)
1 Alimentazione
Indica che l’impianto è collegato alla rete elettrica e che
è alimentato.
2 Allarme generale
Indica l’eventuale intervento dei dispositivi di protezio-
ne quali la protezione termica.
3 Potenza attiva
Indica la presenza di tensione sulle prese d’uscita del-
l’impianto.
4 Manopola di regolazione principale
Permette di regolare con continuità la corrente di saldatura.
5 Processo di saldatura
Permette di impostare la migliore dinamica d’arco sele-
zionando il tipo di elettrodo utilizzato.
Saldatura ad elettrodo (MMA)
Basico
Rutilico
Acido
Acciaio
Ghisa
Saldatura ad elettrodo (MMA)
Cellulosico
Alluminio
La selezione della corretta dinamica d’arco permette di sfruttare
nel migliore dei modi le potenzialità dell’impianto al fine di
ottenere le migliori prestazioni possibili in saldatura.
Non viene garantita la perfetta saldabilità dell’elettrodo utilizza-
to (saldabilità che dipende dalla qualità dei consumabili e dalla
loro conservazione, dalle modalità operative e dalle condizioni
di saldatura, dalle numerevoli applicazioni possibili…).
Saldatura TIG LIFT
3.3 Pannello comandi frontale (Genesis 2000 RC)
1 Alimentazione
Indica che l’impianto è collegato alla rete elettrica e che
è alimentato.
2 Allarme generale
Indica l’eventuale intervento dei dispositivi di protezio-
ne quali la protezione termica.
3 Potenza attiva
Indica la presenza di tensione sulle prese d’uscita del-
l’impianto.
4 Display 7 segmenti
Permette di visualizzare le generalità della saldatrice in
fase di partenza, le impostazioni e le letture di corrente
e di tensione in saldatura, la codifica degli allarmi.
5 Manopola di regolazione principale
Permette di regolare con continuità la corrente di saldatura.
Tale corrente resta invariata durante la saldatura quan-
do le condizioni di alimentazione e di saldatura variano
dentro i range dichiarati nelle caratteristiche tecniche.
In MMA la presenza di HOT-START ed ARC-FORCE
fa si che la corrente media in uscita possa essere più
elevata di quella impostata.
Permette la regolazione del parametro selezionato sul
grafico 6. Il valore viene visualizzato sul display 4.
Permette l’ingresso a set up, la selezione e l’impostazio-
ne dei parametri di saldatura.
6 Parametri di saldatura
Il grafico riportato sul pannello permette la selezione e
la regolazione dei parametri di saldatura.
Hot start
Permette la regolazione del valore di hot start in MMA.
Consente una partenza più o meno “calda” nelle fasi d’in-
nesco dell’arco facilitando di fatto le operazioni di start.
Parametro impostato in percentuale (%) sulla corrente
di saldatura.
Minimo off, Massimo 500%, Default 80%
9

Table of Contents

Related product manuals