EasyManua.ls Logo

Seltron ACC40 - Parametri Regulatorja in Pomožna Orodja; Uporabniški Parametri

Seltron ACC40
88 pages
Print Icon
To Next Page IconTo Next Page
To Next Page IconTo Next Page
To Previous Page IconTo Previous Page
To Previous Page IconTo Previous Page
Loading...
68 Slovensko
PARAMETRI REGULATORJA IN POMOŽNA ORODJA
NAVODILA ZA SERVISNE NASTAVITVE
Vse dodatne nastavitve in prilagoditve delovanja regulatorja se izvršijo s pomočjo paramet-
rov. Uporabniški, servisni in funkcijski parametri se nahajajo na drugem zaslonu menija.
UPORABNIŠKI PARAMETRI
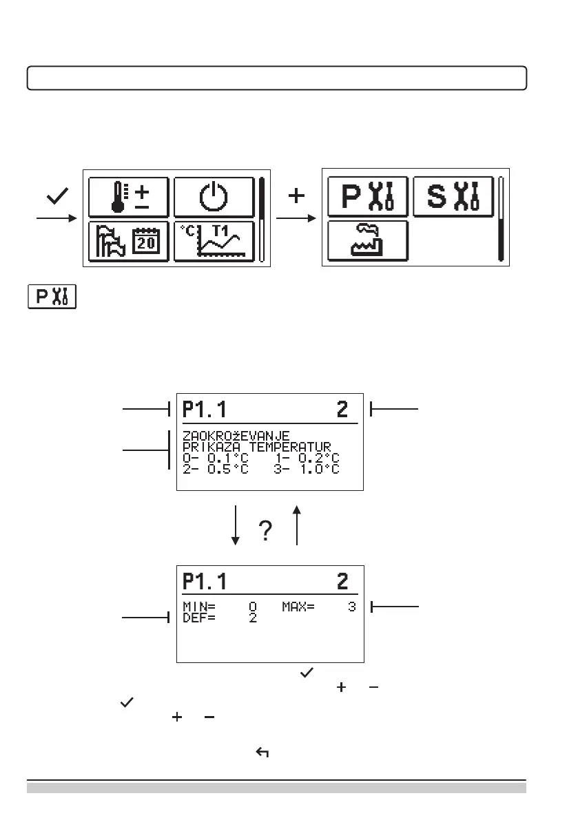
Uporabniški parametri so razvrščeni v skupini P1 - splošne nastavitve.
Ko v meniju izberemo želeno skupino parametrov se odpre nov zaslon:
Oznaka parametra
Opis parametra
Trenutna vrednost
parametra
Tovarniška
vrednost
Območje
nastavitve
Nastavitev spremenimo tako, da pritisnemo tipko .
Vrednost nastavitve prične utripati in jo lahko s tipkama in spremenimo. Nastavitev
potrdimo s tipko .
Sedaj se lahko s tipkama in pomaknemo na drug parameter in postopek ponovimo.
Nastavitev parametrov zapustimo s tipko .

Table of Contents