EasyManua.ls Logo

Siemens SIMATIC PANEL PC 877 - Dimensional Drawings for the Installation of Expansion Modules

Siemens SIMATIC PANEL PC 877
288 pages
Print Icon
To Next Page IconTo Next Page
To Next Page IconTo Next Page
To Previous Page IconTo Previous Page
To Previous Page IconTo Previous Page
Loading...
Dimension drawings
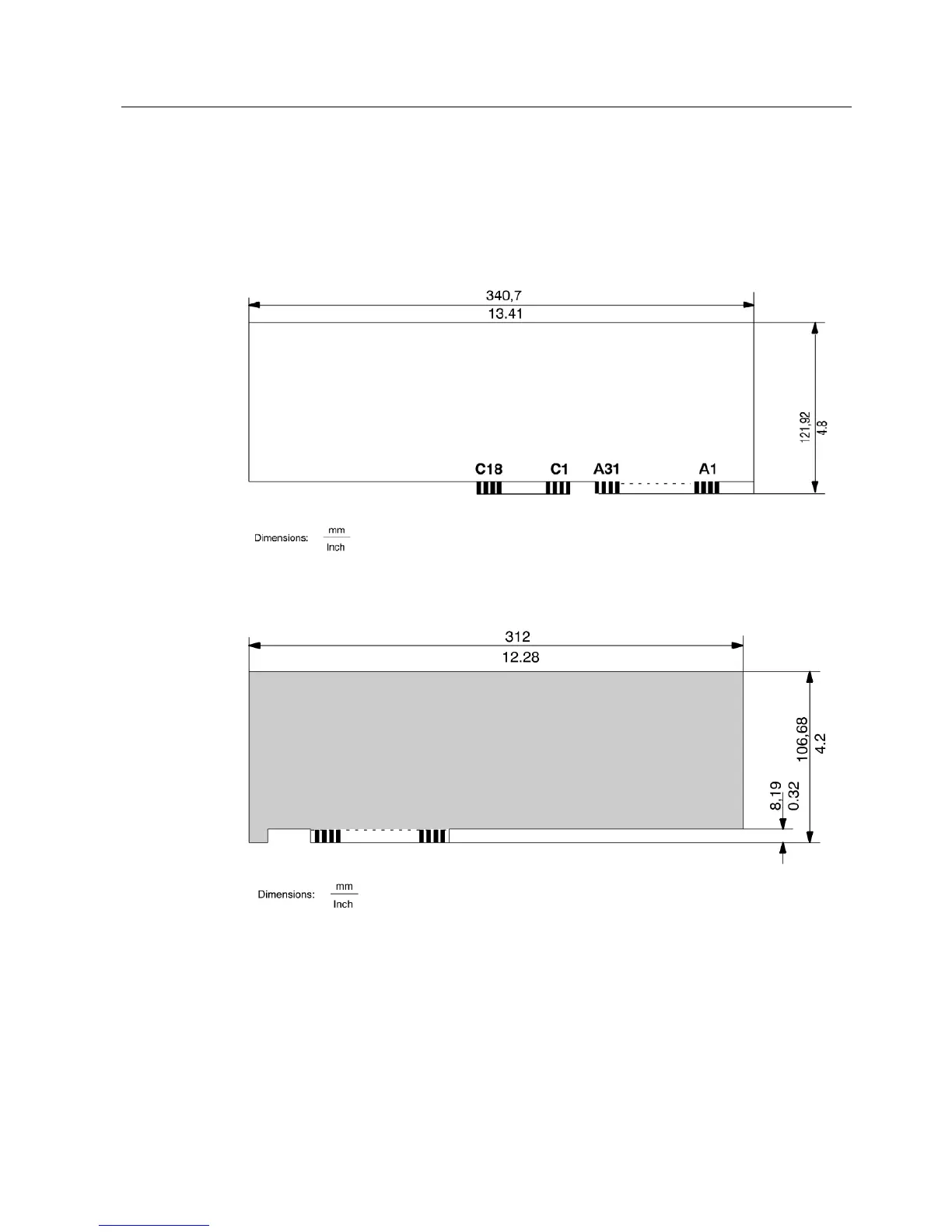
16.2 Dimensional drawings for the installation of expansion modules
SIMATIC Panel PC 877
Operating instructions, Release 07/2006, A5E00877780-01
16-3
16.2 16.2 Dimensional drawings for the installation of expansion modules
Figure 16-3 AT module
Figure 16-4 Long format PCI module

Table of Contents

Related product manuals