EasyManua.ls Logo

Siemens SINAMICS G120C PN - Minimum and Maximum Speed

Siemens SINAMICS G120C PN
478 pages
To Next Page IconTo Next Page
To Next Page IconTo Next Page
To Previous Page IconTo Previous Page
To Previous Page IconTo Previous Page
Loading...
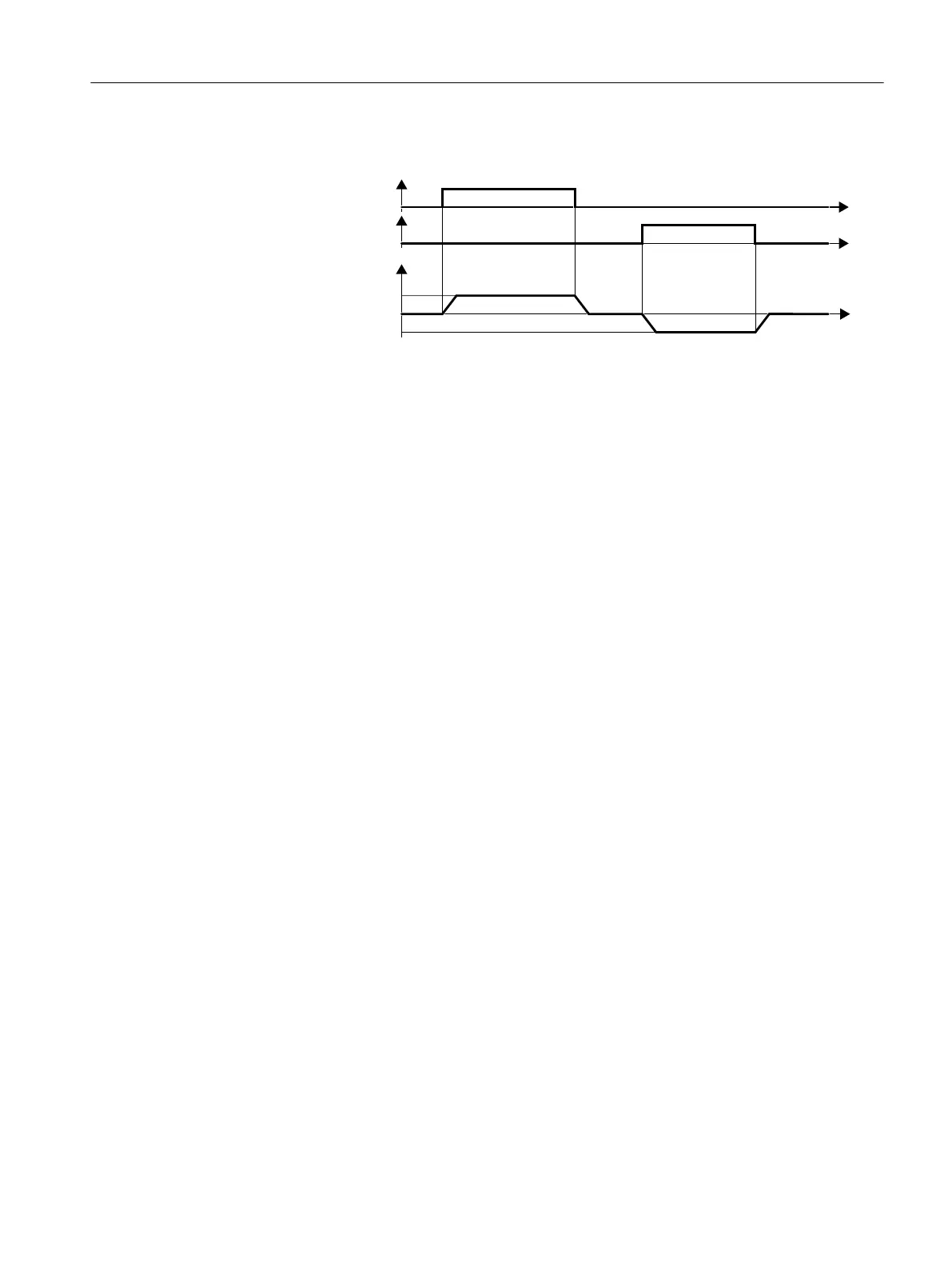
Switching the motor on and o󹪜 in the jog mode
0RWRUVSHHG
-RJ
USP
USP
-RJ
W
W
W
Figure5-3 Jogging the motor with the factory settings
In the case of converters with a PROFIBUS or PROFINET interface, operation can be switched
via digital input DI3. The motor is either switched on and o󹪜 via the 󹪝eldbus – or operated in
the jog mode via its digital inputs.
When a control command is received at the respective digital input, the motor rotates at
±150 rpm. The same ramp-up and ramp-down times as described above apply.
5.3.3 Minimum and maximum speed
Minimum and maximum speed
Minimum speed - factory setting 0[rpm]
The minimum speed is the lowest speed of the motor independent of the speed setpoint. A
minimum speed>0 is, for example,useful for fans or pumps.
Maximum speed - factory setting 1500[rpm]
The converter limits the motor speed to the maximum speed.
Operate the converter with the factory setting
We recommend that you execute quick commissioning. For quick commissioning, you must
adapt the converter to the connected motor by setting the motor data in the converter.
In basic applications with a standard induction motor, you can attempt to operate the drive
with a rated power of < 18.5kW without carry out an additional commissioning steps.
Check whether the control quality of the drive without commissioning is adequate for the
requirements of the application.
Commissioning
5.3Preparing for commissioning
SINAMICS G120C Converters
Operating Instructions, 02/2023, FW V4.7 SP14, A5E34263257B AK 123

Table of Contents

Related product manuals