EasyManua.ls Logo

SII LP-1010 - Page 239

SII LP-1010
290 pages
Print Icon
To Next Page IconTo Next Page
To Next Page IconTo Next Page
To Previous Page IconTo Previous Page
To Previous Page IconTo Previous Page
Loading...
14-24
Engine warning
Description : This error may occur when image data is transferred
from the controller to the engine for printing.
The drawing on which this error occurred may not be
printed correctly because image data for printing is not
transferred correctly.
Measure : If an error occurs successively, turn the power off and
on. If the device does not recover from this error after
turning the power off and on, please notify your dealer or
our service center of the displayed error message and
error condition.
Main warning
Description : There is any problem in the data transmitted from the
controller or computer.
Measure : Take measure according to an error code by referring to
the following table.
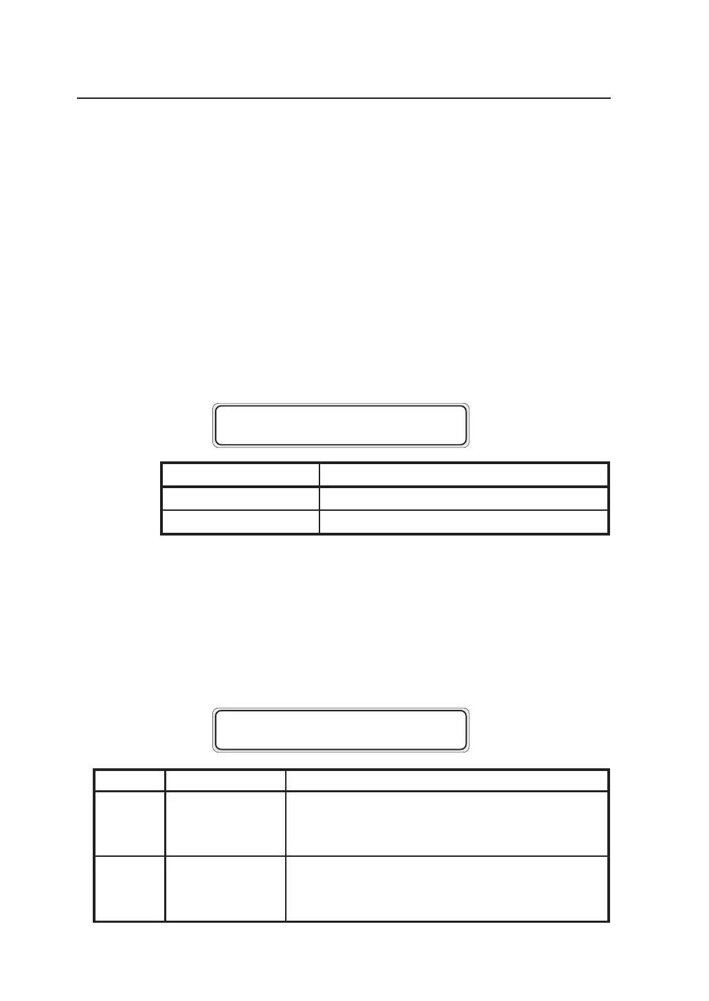
W E56E-xxxx
xxxx: Error code
edocrorrEnoitpircseD
F009ot1009)rorrerefsnarteciveD(rorrepihcerawdraH
FF09ot1209)eruliafnoitarepO(rorrepih
cerawdraH
W F06D-xxxx
xxxx: Error code
Error code Description Measure
0801 Faulty spool file
Turn off and on the power. If this error occurs frequently
though the power is turned off and on, please inform our
service center or sales agent of the error message displayed
and error situation.
0838
PDL cannot be judged
from data
Transmitted data may be faulty, if this error occurred in
specific data. If the error occurred in the data that was
outputted normally so far, please inform our service center or
sales agent of the error message displayed and error situation.

Table of Contents