EasyManua.ls Logo

Sony DCR-PC330 - Page 24

Sony DCR-PC330
136 pages
Print Icon
To Next Page IconTo Next Page
To Next Page IconTo Next Page
To Previous Page IconTo Previous Page
To Previous Page IconTo Previous Page
Loading...
Recording
24
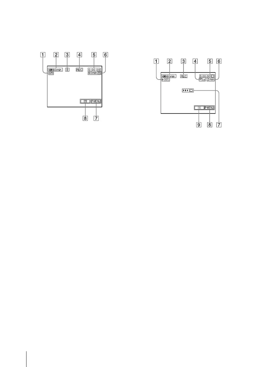
Indicators displayed during recording
on a tape
The indicators will not be recorded on the tape.
Date/time and the camera settings data (p. 51)
will not be displayed during recording.
A Indicators for Cassette Memory cassettes
B Remaining battery
The indicated time may not be correct
depending on the environment of use.
When you opened or closed the LCD panel,
it takes about one minute to display the
correct remaining battery time.
C Recording mode (SP or LP)
D Recording status ([STBY] (standby) or
[REC] (recording))
E Time code (hour: minute: second: frame)
or tape counter (hour: minute: second)
F Recording capacity of the tape
Displayed after you run the tape for a while.
G Personal Menu button (p. 56)
H END SEARCH/EDIT SEARCH/Rec
review display switch button (p. 43)
Indicators displayed during recording
on a “Memory Stick”
The indicators will not be recorded on the
“Memory Stick.”
Date/time (p. 51) will not be displayed during
recording.
A Recording folder
B Remaining battery
The indicated time may not be correct
depending on the environment of use.
When you opened or closed the LCD panel,
it takes about one minute to display the
correct remaining battery time.
C Recording status ([STBY] (standby) or
[REC] (recording))
D Movie size
E Recorded time (hour: minute: second)
F Recording capacity of the “Memory
Stick”
G “Memory Stick” recording start
indicator (appears for about 5 seconds)
H Personal Menu button (p. 56)
I Review button (p. 23)
b Notes
Before changing the battery pack, slide the POWER
switch up to (CHG) OFF.
In the default setting, when you do not operate the
camcorder for more than about 5 minutes, the power
will automatically turn off to prevent battery loss
([A.SHUT OFF], p. 81). To restart recording, slide
the POWER switch down to select CAMERA-
TAPE or CAMERA-MEMORY, and then press
START/STOP.
When you are recording on a “Memory Stick” using
an external flash (optional), turn off the power of the
external flash to prevent charging noise from getting
recorded.

Table of Contents

Other manuals for Sony DCR-PC330

Related product manuals