EasyManua.ls Logo

Sony HCD-MDX10 - Compact Disk Deck Receiver Component - Front Panel Section

Sony HCD-MDX10 - Compact Disk Deck Receiver Component
112 pages
Print Icon
To Next Page IconTo Next Page
To Next Page IconTo Next Page
To Previous Page IconTo Previous Page
To Previous Page IconTo Previous Page
Loading...
– 121 –
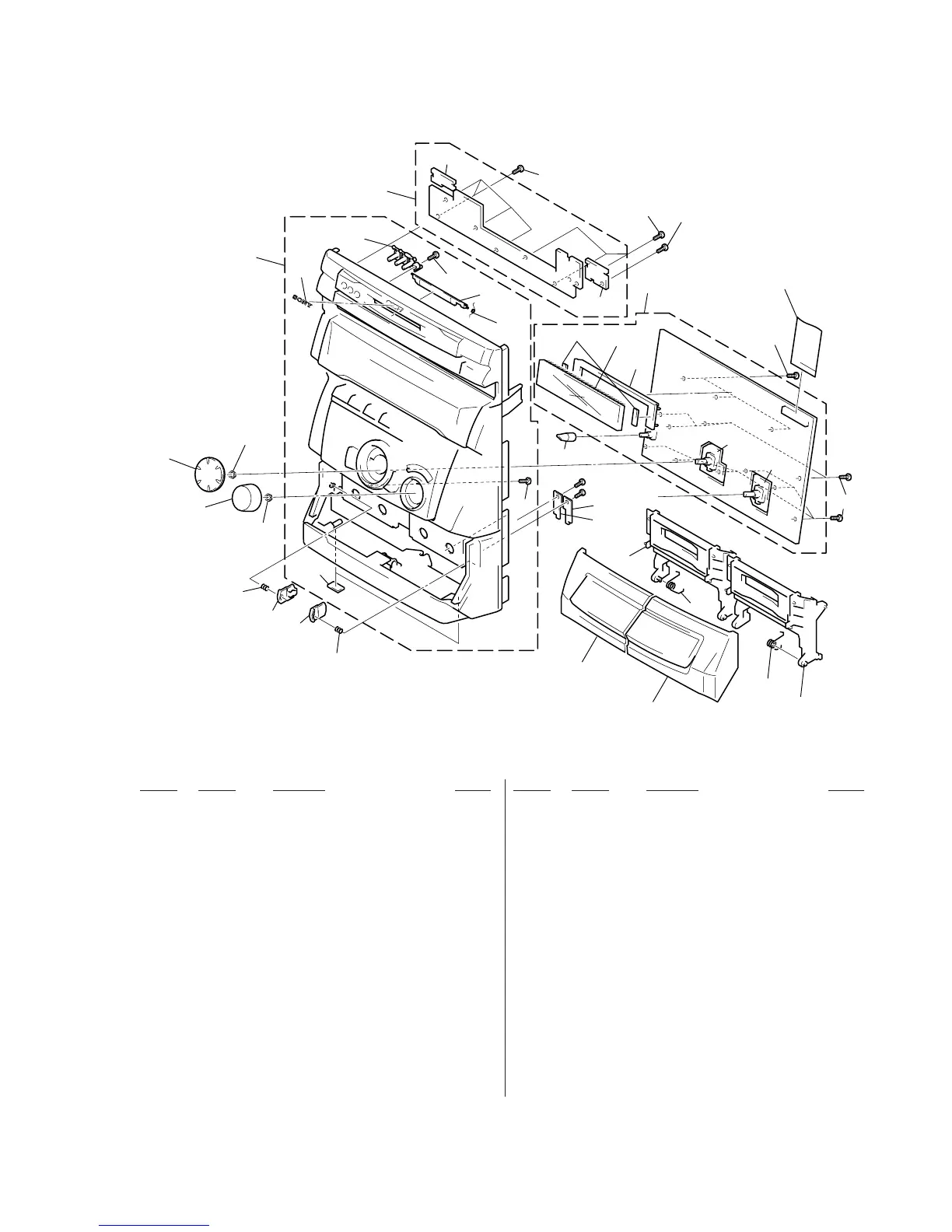
9-3. FRONT PANEL SECTION
117
112
121
FL601
#2
#2
not supplied
not supplied
117
127
128
Supplied with
S601
Supplied with
S602
105
105
109
111
114
113
108
101
106
107
110
103
102
104
118
124
119
117
122
120
117
117
123
117
115
116
117
125
126
Ref. No. Part No. Description Remark Ref. No. Part No. Description Remark
101 X-4951-200-1 CASSETTE LID (A) ASSY
102 X-4951-201-1 CASSETTE LID (B) ASSY
103 X-4951-198-1 CASSETTE HOLDER (A) ASSY
104 X-4951-199-1 CASSETTE HOLDER (B) ASSY
105 4-214-775-11 SPRING, PUSH CATCHER RETURN
106 4-214-760-11 CATCHER (A), PUSH
107 4-214-761-11 CATCHER (B), PUSH
108 4-214-384-11 KNOB (VOL)
109 4-214-383-11 KNOB (JOG)
110 4-930-336-61 FOOT (FELT)
111 4-216-415-01 SPRING (L)
112 4-216-416-01 SPRING (R)
113 X-4951-197-1 FRONT PANEL ASSY (AEP,UK,G,CIS)
113 X-4951-204-1 FRONT PANEL ASSY (EXCEPT AEP,UK,G,CIS)
114 4-962-708-71 EMBLEM (4-A), SONY
115 4-216-729-41 LID (CARTRIDGE)
116 4-976-593-11 SPRING (LID), TORSION
117 4-951-620-01 SCREW (2.6X8), +BVTP
118 A-4419-498-A CD PANEL BOARD, COMPLETE
(EXCEPT AEP,UK,G,CIS)
118 A-4419-325-A CD PANEL BOARD, COMPLETE (AEP,UK,G,CIS)
119 A-4419-324-A DISPLAY BOARD, COMPLETE (AEP,UK,G,CIS)
119 A-4419-497-A DISPLAY BOARD, COMPLETE
(EXCEPT AEP,UK,G,CIS)
* 120 4-214-439-11 HOLDER, FL TUBE
121 4-214-385-81 KNOB (MIC)
122 1-675-345-11 WIRE (FLAT TYPE)(23 CORE)
123 1-673-382-11 MD LINK SW BOARD
124 1-673-381-11 POWER SW BOARD
125 1-673-837-21 TC STOPPER A BOARD
126 1-673-838-21 TC STOPPER B BOARD
127 1-673-379-11 JOG BOARD
128 1-673-380-11 VOL BOARD
FL601 1-517-841-11 INDICATOR TUBE, FLUORESCENT

Table of Contents

Related product manuals