EasyManua.ls Logo

Sony RDR-GXD310 - Page 99

Sony RDR-GXD310
108 pages
Print Icon
To Next Page IconTo Next Page
To Next Page IconTo Next Page
To Previous Page IconTo Previous Page
To Previous Page IconTo Previous Page
Loading...
99
Additional Information
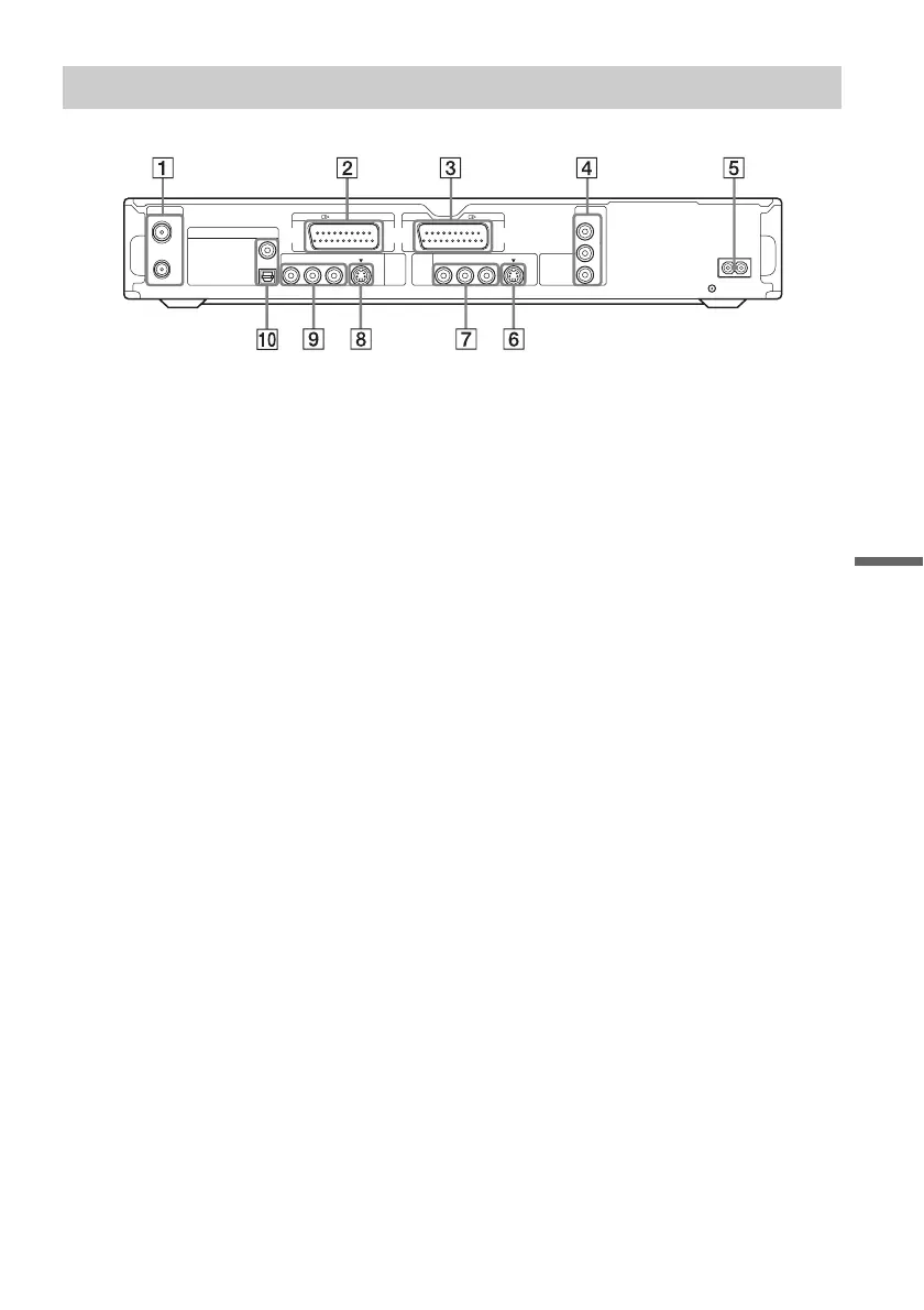
A AERIAL IN/OUT jacks (13)
B LINE 1 – TV jack (14)
C LINE 3 jack (23)
D COMPONENT VIDEO OUT (Y, P
B/CB,
P
R/CR) jacks (14)
E AC IN terminal (18)
F LINE 2 OUT (S VIDEO) jack (14)
G LINE 2 OUT (R-AUDIO-L/VIDEO) jacks
(14, 17)
H LINE 4 IN (S VIDEO) jack (24)
I LINE 4 IN (R-AUDIO-L/VIDEO) jacks
(24)
J DIGITAL OUT (COAXIAL/OPTICAL)
jacks (17)
Rear panel
AERIAL
~ AC IN
IN
OUT
COMPONENT
VIDEO OUT
PB/
C
B
Y
P
R/
C
R
LINE
2
OUT
LINE
4
IN
LINE 1
-
TV
VIDEO
-
AUDIO
S VIDEO
RL
VIDEO
-
AUDIO
S VIDEO
RL
DIGITAL OUT
COAXIAL
OPTICAL
PCM/DTS/MPEG/DOLBY DIGITAL
LINE 3

Table of Contents

Other manuals for Sony RDR-GXD310

Related product manuals