EasyManua.ls Logo

Sony SA-CT780 - Top Panel Section

Sony SA-CT780
78 pages
Print Icon
To Next Page IconTo Next Page
To Next Page IconTo Next Page
To Previous Page IconTo Previous Page
To Previous Page IconTo Previous Page
Loading...
63
HT-CT780
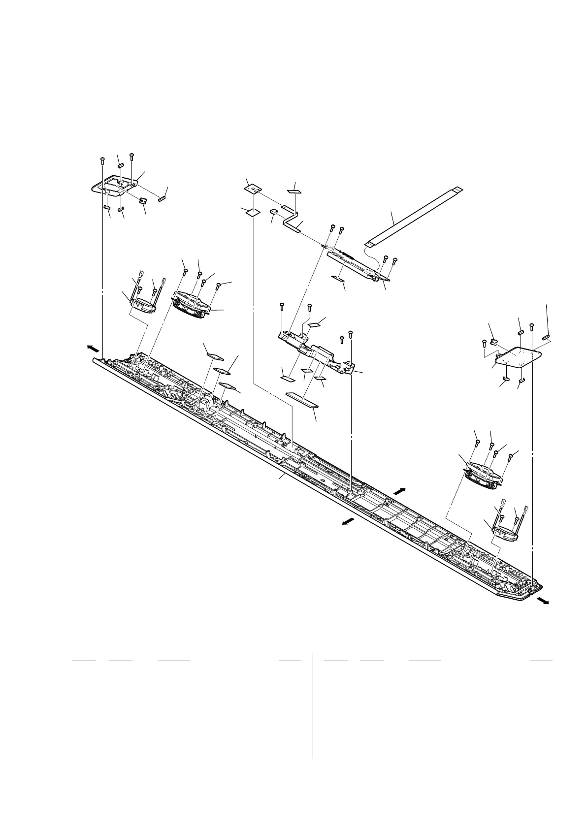
6-2. TOP PANEL SECTION
• Bottom view
51 4-986-971-12 SCREW (3.5)
52 4-549-339-01 CUSHION SIDE
53 4-548-760-01 PANEL SIDE R (Right side)
54 4-538-318-41 CUSHION (QV, A)
55 4-548-759-01 PANEL SIDE L (Left side)
56 X-2590-960-3 TOP PANEL ASSY (US, CND)
56 X-2590-961-3 TOP PANEL ASSY (Except US, CND)
57 4-569-646-01 DOUBLE SIDE TAPE (NFC)
FFC3 9-833-606-94 FFC 18P
FFC4 9-833-606-97 FFC 6P
NFC1 8-989-602-00 RC-S730 (WW) (NFC module)
SP1 1-859-097-11 SPEAKER (60 mm) (Woofer) (L-ch)
SP2 1-859-097-11 SPEAKER (60 mm) (Woofer) (R-ch)
SP3 1-859-096-11 SPEAKER (19 mm) (Tweeter) (L-ch)
SP4 1-859-096-11 SPEAKER (19 mm) (Tweeter) (R-ch)
#1 7-685-647-79 SCREW +BVTP 3X10 TYPE2 IT-3
Ref. No. Part No. Description Remark Ref. No. Part No. Description Remark
51
51
52
53
52
52
51
54
54
54
51
51
51
54
not supplied
FFC4
FFC3
NFC1
not supplied
SP3
51
51
SP4
SP1
SP2
not supplied
#1
#1
#1
#1
#1
#1
not supplied
not supplied
(FL board)
not supplied
51
51
51
51
52
52
56
52
55
not
supplied
not
supplied
#1
#1
#1
#1
#1
#1
54
57
54
not
supplied
not
supplied
not
supplied
rear side
left side
right side
front side
Ver. 1.1

Related product manuals