EasyManua.ls Logo

Sony UP-980CE - Emplacement Et Fonction des Pièces Et Commandes; Avant

Sony UP-980CE
Print Icon
To Next Page IconTo Next Page
To Next Page IconTo Next Page
To Previous Page IconTo Previous Page
To Previous Page IconTo Previous Page
Loading...
151
Divers
Pour plus de détails, reportez-vous aux pages indiquées entre parenthèses.
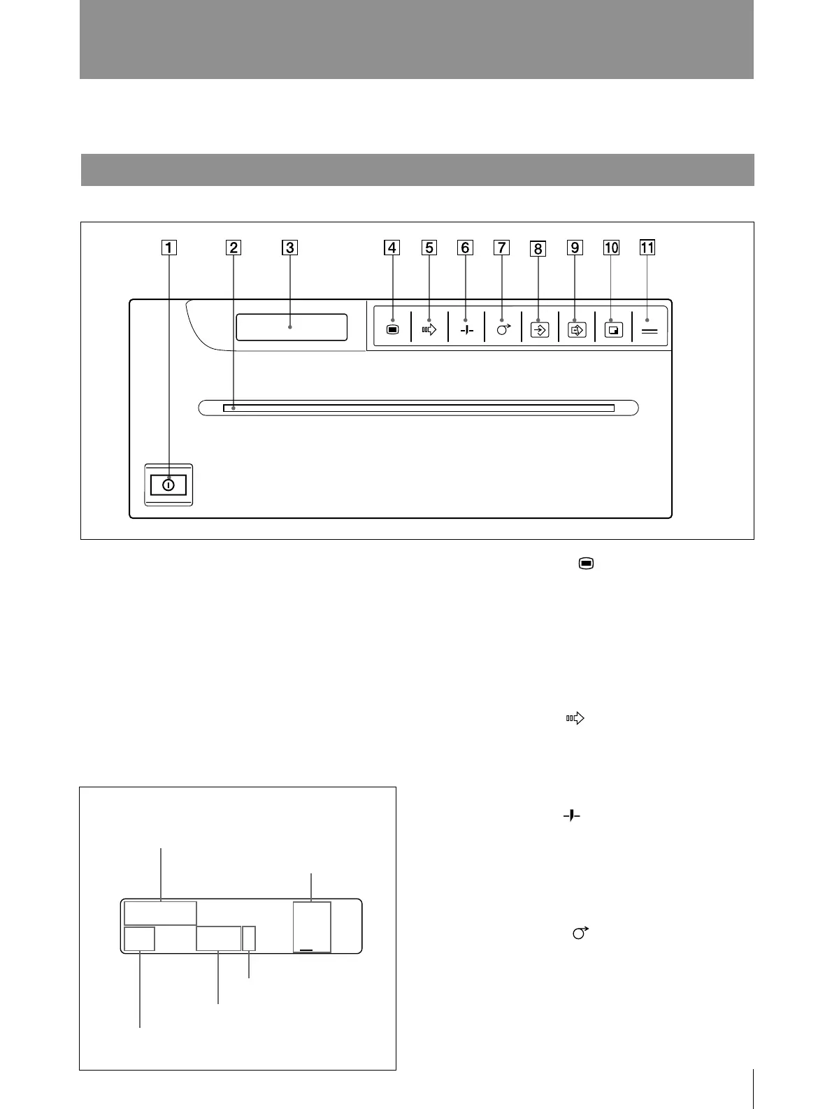
Avant
Emplacement et fonction des pièces et commandes
1 Interrupteur ON/OFF (108, 111, 145)
Met limprimante sous tension.
2 Sortie de papier (109, 146)
3 Fenêtre daffichage de limprimante
Affiche l’état de limprimante en mode
dimpression normal.
Affiche le menu en mode dexploitation de
menu. En cas derreur, un message derreur
correspondant saffiche.
4 Touche MENU (114, 119, 121, 124,
125)
Sert à utiliser le menu. En appuyant sur la
touche MENU, le clapet souvre partiellement
et le panneau secondaire apparaît. De même,
appuyez sur la touche MENU pour revenir au
menu principal à partir des sous-menus.
5 Touche SKIP (117)
Appuyez sur cette touche pour déplacer le
curseur à la position souhaitée en mode
dimages multiples.
6 Touche CUT (110, 112, 118, 121)
Appuyez sur cette touche pour couper le
papier. Une pression sur cette touche pendant
limpression entraîne larrêt de limpression
et la découpe du papier.
7 Touche FEED (110, 112, 118, 122)
Appuyez sur cette touche pour introduire le
papier. Le papier avance tant que la touche
FEED est enfoncée.
Une pression sur cette touche pendant
limpression entraîne larrêt de limpression
et la découpe du papier.
OPEN/CLOSE
PRINTCOPY
CAPTURE
FEEDCUTSKIPMENU
TYPE2 12
Q1 STD6 34
Type de papier
Quantité à
imprimer
Indique le
réglage
IMAGE SIZE.
Indique la position du curseur
dans le mode dimages multiples.
Le trait de soulignement apparaît
à lendroit où le curseur est placé
et limage est saisie.
Indique le réglage de
MULTIPICTURE.

Table of Contents

Other manuals for Sony UP-980CE

Related product manuals