EasyManua.ls Logo

Sony UP-980CE - Lage und Funktion der Teile und Bedienelemente; Vorderseite

Sony UP-980CE
Print Icon
To Next Page IconTo Next Page
To Next Page IconTo Next Page
To Previous Page IconTo Previous Page
To Previous Page IconTo Previous Page
Loading...
201
Sonstiges
Näheres finden Sie auf den in Klammern angegebenen Seiten.
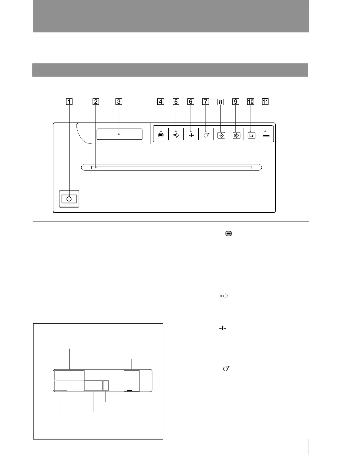
Vorderseite
Lage und Funktion der Teile und Bedienelemente
1 Netzschalter ON/OFF (158, 161, 195)
Zum Ein-/Ausschalten des Geräts.
2 Papierausgabe (159, 196)
3 Drucker-Display
Zum Anzeigen des Druckerstatus beim
normalen Druckbetrieb.
Zum Anzeigen des Menüs im Menümodus.
Wenn ein Fehler auftritt, wird eine
entsprechende Fehlermeldung angezeigt.
4 Taste MENU (164, 169, 171, 174, 175)
Zum Arbeiten mit dem Menü. Wenn Sie die
Taste MENU drücken, öffnet sich die
Abdeckung ein Stück weit, so daß das
Bedienfeld innen zu sehen ist. Mit der Taste
MENU können Sie darüber hinaus von den
Untermenüs zu den Hauptmenüs zurückschalten.
5 Taste SKIP (167)
Bewegt den Cursor im Mehrbildmodus an die
gewünschte Position.
6 Taste CUT (160, 162, 168, 172)
Zum Schneiden des Papiers. Wenn Sie die Taste
während eines Druckvorgangs drücken, stoppt
der Druckvorgang.
7 Taste FEED (160, 162, 168, 172)
Zum Zuführen des Papiers. Das Papier wird so
lange eingezogen, wie Sie die Taste FEED
gedrückt halten.
Wenn Sie die Taste während eines
Druckvorgangs drücken, stoppt der
Druckvorgang.
OPEN/CLOSE
PRINTCOPY
CAPTURE
FEEDCUTSKIPMENU
TYPE2 12
Q1 STD6 34
Papiertyp
Cursor-Position im Mehrbildmodus.
Der Unterstrich erscheint an der
Stelle, an der sich der Cursor
befindet. An dieser Stelle wird das
Bild in den Speicher gestellt.
Einstellung für
MULTIPICTURE
(Mehrbildmodus).
Einstellung für
IMAGE SIZE
(Bildgröße)
Anzahl der
Ausdrucke

Table of Contents

Other manuals for Sony UP-980CE

Related product manuals