EasyManua.ls Logo

Sony UP-D897 - 6-2. Exploded Views

Sony UP-D897
60 pages
Print Icon
To Next Page IconTo Next Page
To Next Page IconTo Next Page
To Previous Page IconTo Previous Page
To Previous Page IconTo Previous Page
Loading...
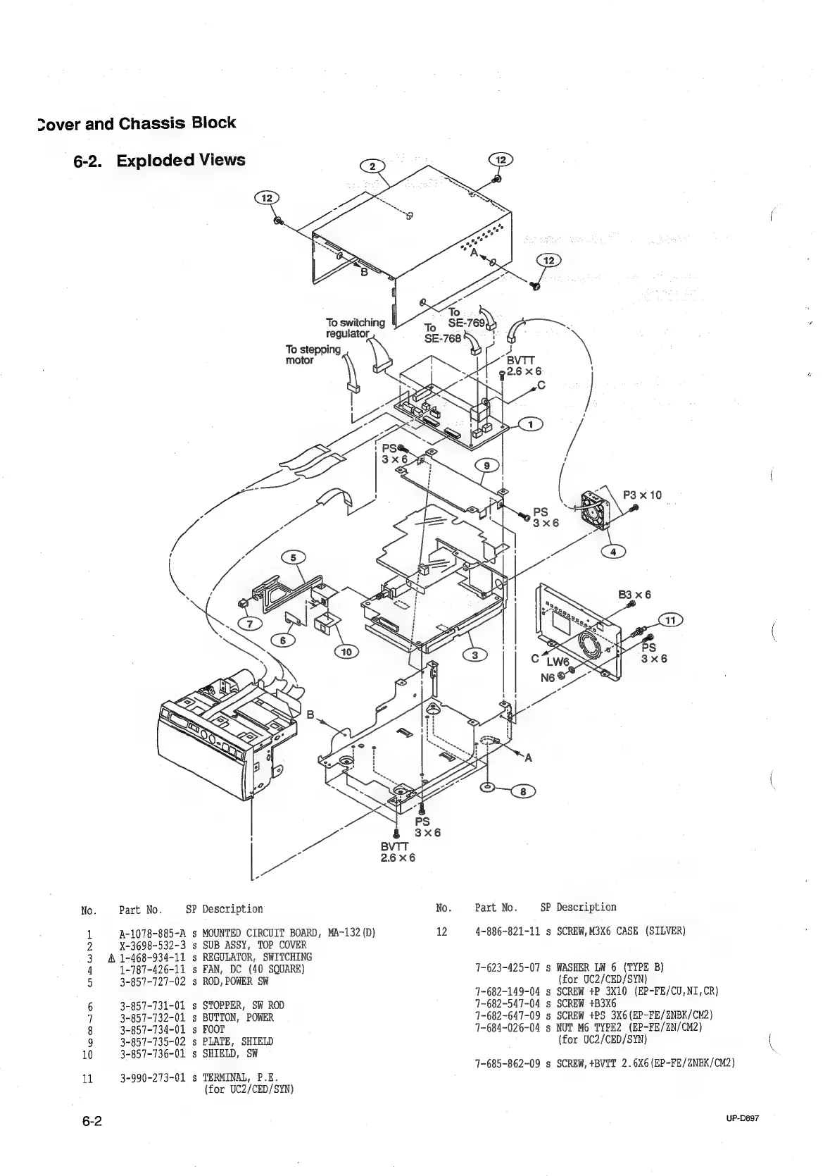
Sover
and
Chassis
Block
6-2.
Exploded
Views
No.
Ol
im
GW
hor
DwWoO~aIMD
6-2
Part
No.
A-1078-885-A
X-3698-532-3
A
1-468-934-11
1-787-426-11
3-857-727-02
3-857-731-01
3-857-732-01
3-857-734-01
3-857-735-02
3-857-736-01
3-990-273-01
SP
ANAAN
To
switching
regulator
To
stepping
motor
Description
No.
MOUNTED
CIRCUIT
BOARD,
MA-132(D)
12
SUB
ASSY,
TOP
COVER
REGULATOR,
SWITCHING
FAN,
DC
(40
SQUARE)
ROD,
POWER
SW
STOPPER,
SW
ROD
BUTTON,
POWER
FOOT
PLATE,
SHIELD
SHIELD,
SW
TERMINAL,
P.E.
(for
UC2/CED/SYN)
Part
No.
4~886-821-11
71-623-425-07
7-682-149-04
7-682-547-04
7-682-647-09
71-684-026-04
7-685-862-09
SP
s
s
Mn
nm
wm
s
Description
SCREW,
M3X6
CASE
(SILVER)
WASHER
LW
6
(TYPE
B)
(for
UC2/CED/SYN)
SCREW
+P
3X10
(EP-FE/CU,NI,CR)
SCREW
+B3X6
SCREW
+PS
3X6
(EP-FE/ZNBK/CM2)
NUT
M6
TYPE2
(EP-FE/ZN/CM2)
(for
UC2/CED/SYN)
SCREW,
+BVIT
2.
6X6
(EP-FE/ZNBK/CM2)
UP-D897

Table of Contents

Other manuals for Sony UP-D897

Related product manuals