EasyManua.ls Logo

STG-BEIKIRCH 4A - Page 66

STG-BEIKIRCH 4A
Print Icon
To Next Page IconTo Next Page
To Next Page IconTo Next Page
To Previous Page IconTo Previous Page
To Previous Page IconTo Previous Page
Loading...
66
08/13424999756
M
=
M
=
M
=
M
=
M
=
M
=
Master Slave Slave
DIP4=On
DIP8=On
DIP4=On
DIP8=On
DIP4=On
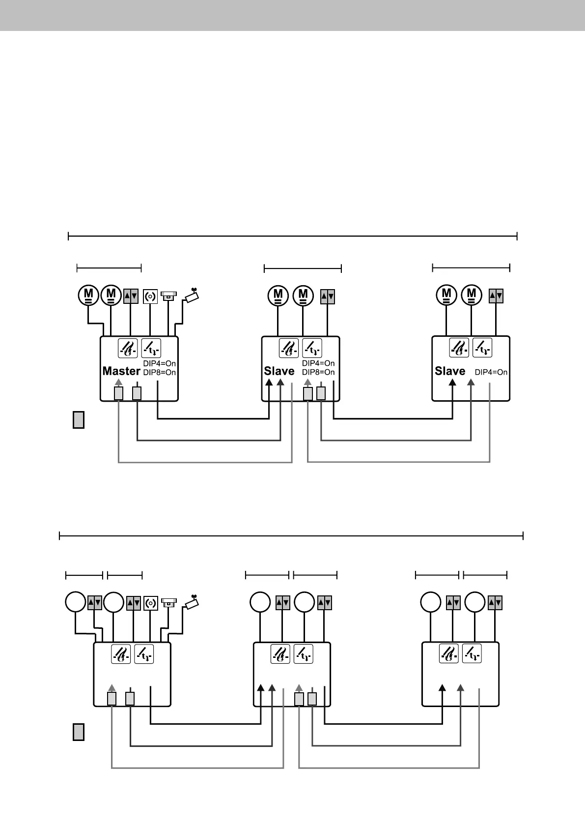
Compact control panel 4A, 4A/M und 8A, 8A/M
UEB3-1K
UEB3-1K
Description of operating
Master - Slave function
(Rev019 hardware version, software version V020001, see marking on the board)
The cables for cascading be monitored for wire breakage and incorrect connection (see Troubleshooting).
Interference signals are transmitted from each slave station til to the master station. The monitoring function is central to
any
guaranteed.
The ventilation functions are performed by each center independently and can not be linked.
Depending headquarters remain at 2 ventilation groups.
Also forwarding the wind-rain signal can be realized (see chapter Connecting control panel Slave).
Interconnection principle 1: 1 SHE group and 3 ventilation groups
Interconnection principle 2: 1 SHE group and 6 ventilation groups
ventilation group 1
ventilation group 2
ventilation group 3
SHE-group 1
SHE-group 1
malfunction message
malfunction message
malfunction message
malfunction message
SHE activation
SHE activation
SHE activation
SHE activation
wind/rain message
wind/rain message
wind/rain message
wind/rain message
ventilation
group 1
ventilation
group 2
ventilation
group 3
ventilation
group 4
ventilation
group 5
ventilation
group 6

Table of Contents

Related product manuals