EasyManua.ls Logo

Stryker 1020 - Page 97

Stryker 1020
123 pages
Print Icon
To Next Page IconTo Next Page
To Next Page IconTo Next Page
To Previous Page IconTo Previous Page
To Previous Page IconTo Previous Page
Loading...
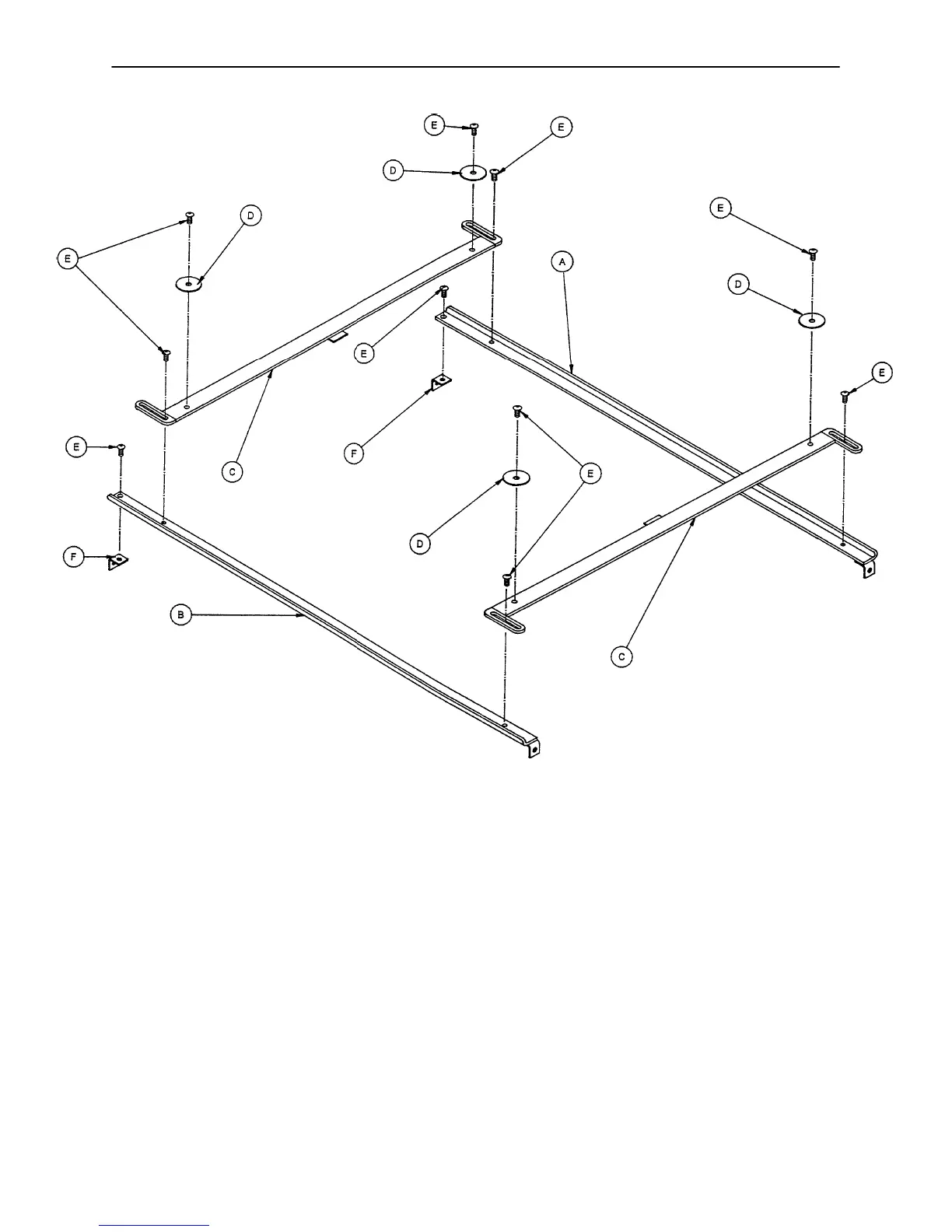
1020027000 XRay Grid Holder Assembly
96
Item Part No. Part Name Qty.
A 1020027021 Guide Weldment, Rt. 1
B 1020027022 Guide Weldment, Lt. 1
C 1020027011 Slider Weldment 2
D 0011271000 Fender Washer 4
E 0004131000 Button Hd. Cap Screw 10
F 1020027024 L Bracket 2

Related product manuals