EasyManua.ls Logo

TECNA TE700 - Chapter 4 - Cascade Operating Mode

TECNA TE700
128 pages
Print Icon
To Next Page IconTo Next Page
To Next Page IconTo Next Page
To Previous Page IconTo Previous Page
To Previous Page IconTo Previous Page
Loading...
TECNA S.p.A. ITEM TE700 Instruction Manual
CHAPTER 4 – CASCADE OPERATING MODE
FEATURES TE700
BIC 1-2 NC OFF
SEAM WELD MODE OFF
>CASCADE MODE ON
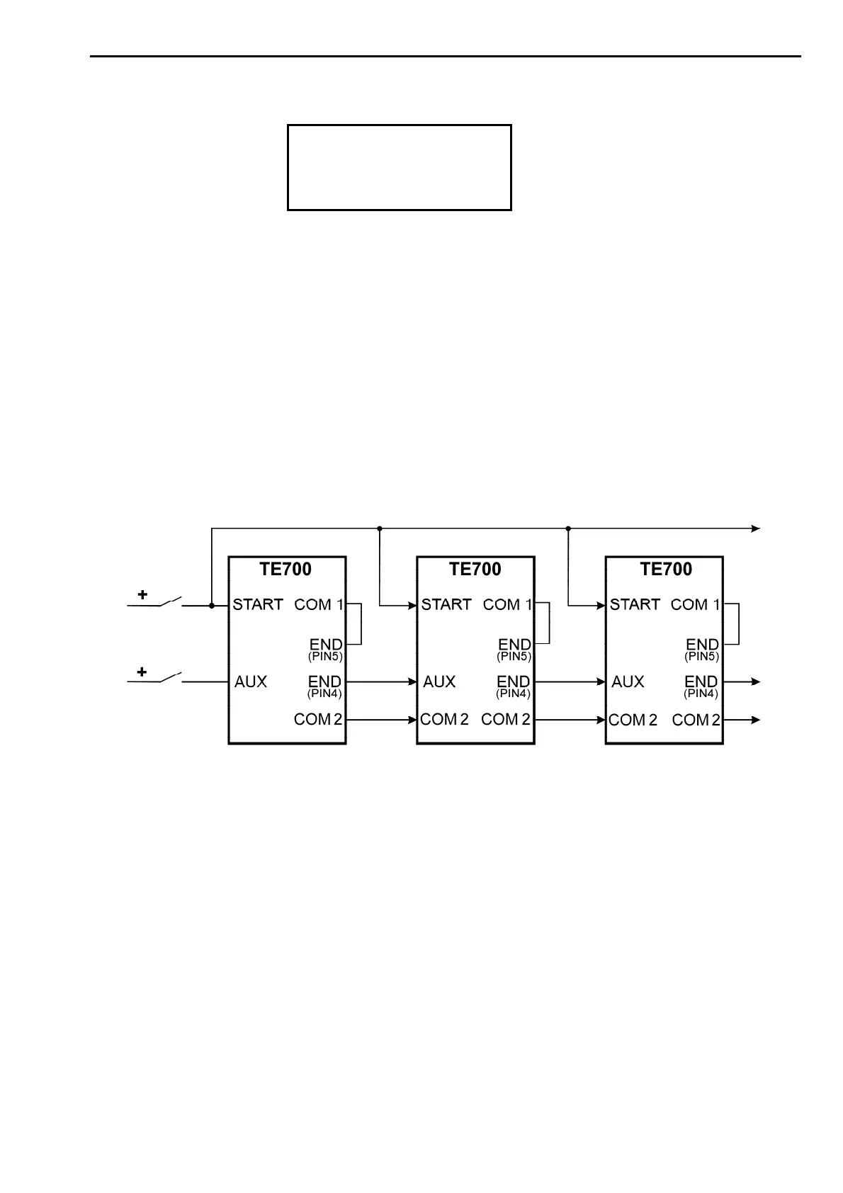
This function allows the cycle-end signal to be normally closed instead of normally open. As
such, multiple TE700 control units may work in electrical cascade mode.
When two or more control units are connected to one another, the signals used to
synchronize control units and carry out electrical cascade welds are as follows:
- START CYCLE input
- AUX input
- CYCLE END output
All the TE700 control units receive the cycle start signal simultaneously. Connect the CYCLE
END signal to the AUX input of the next control unit. It is advisable to program parameter
CASCADE MODE, of the last control unit, to OFF in order to use the CYCLE END signal with
the normally open contact
The cascade WORKING MODE excludes the possibility of using the control unit in SEAM
WELD MODE.
97/128

Related product manuals