EasyManua.ls Logo

Thomas 85 - Page 48

Thomas 85
59 pages
Print Icon
To Next Page IconTo Next Page
To Next Page IconTo Next Page
To Previous Page IconTo Previous Page
To Previous Page IconTo Previous Page
Loading...
4 MAINTENANCE
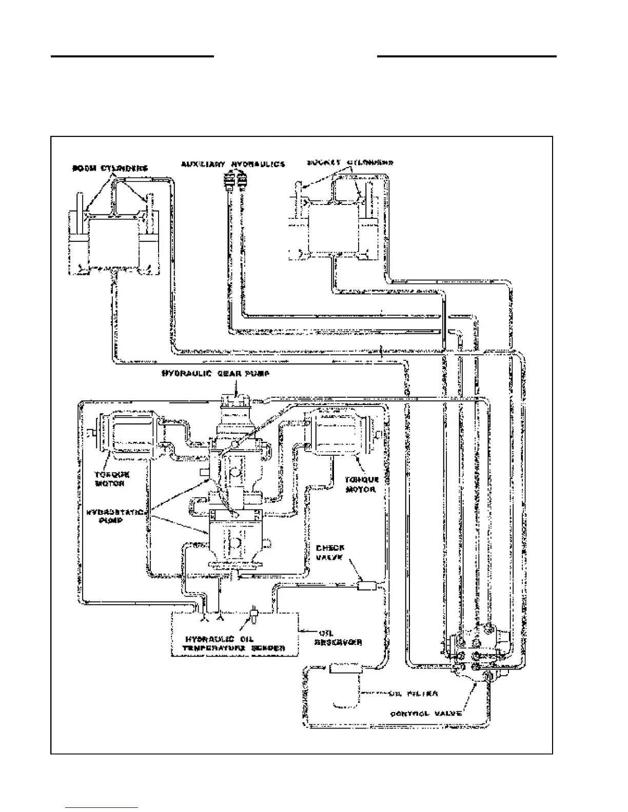
4. 12 HYDRAULIC/HYDROSTATIC CIRCUIT
46
C3266

Other manuals for Thomas 85

Related product manuals