EasyManua.ls Logo

TiLite Rigid TR Series - CHAPTER 11: CASTERS, FORKS AND CASTER PIN LOCKS; Front Casters and Forks (YG Series, TRA, YRA, Evo and BB)

TiLite Rigid TR Series
102 pages
Print Icon
To Next Page IconTo Next Page
To Next Page IconTo Next Page
To Previous Page IconTo Previous Page
To Previous Page IconTo Previous Page
Loading...
TiLite
®
OM000007 - Rev. B
76
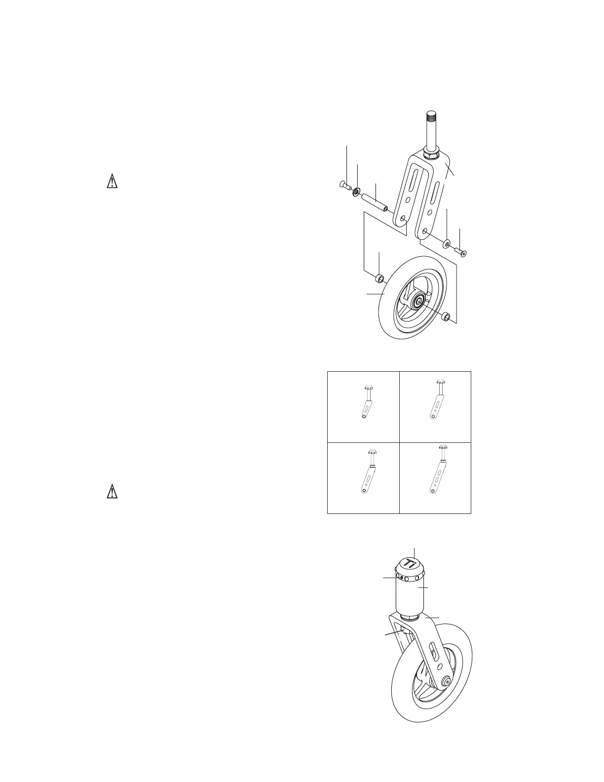
Front Casters and Forks
(YG Series, TRA, YRA, Evo and BB)
WARNING
Always mount identical size front casters and forks on
both sides of your wheelchair. If you ignore this
Warning, you may fall, tip over or lose control of the
wheelchair and seriously injure yourself or others or
damage the wheelchair.
Note: The following instructions apply with respect to
all 3”, 4”, 5” and 6” front casters. See Figure 105.
Replacing Front Casters
Tools Needed:
• Two 1/8” Allen Wrenches
1. Remove the two Allen Screws, finish washers and
axle that secure the front caster to the fork. Note: It
will be necessary to use one Allen Wrench to hold
one screw in place and a second Allen Wrench to
loosen the other screw. See Figure 104.
2. Remove the front caster and fork spacers from the
fork.
3. Install the new front caster and fork spacers onto
the fork and securely tighten the two Allen Screws.
Note: It will be necessary to use one Allen Wrench
to hold one screw in place in order to be able to
securely tighten the other screw with the second
Allen Wrench.
WARNING
The threads on the Allen Screws that secure the front
casters to the forks have been treated with a medium
strength threadlock to reduce the possibility they will
become loose. You should be able to remove and
reinstall these Allen Screws two or three times without
reapplying threadlock to these screws. If you
repeatedly remove and reinstall these Allen Screws,
TiLite requires that you reapply a medium-strength
threadlock after every second adjustment.
Replacing Front Fork Assemblies
Tools Needed:
• 5/64” Allen Wrench
Note: TiLite fork stems are installed in TiLite forks
using Loctite™. Accordingly, if it becomes necessary
to replace your forks or fork stems, TiLite requires
that you order the complete front fork assembly.
1. Remove the front casters. See “Replacing Front
Casters” on page 76.
CHAPTER 11: CASTERS, FORKSCHAPTER 11: CASTERS, FORKS
CHAPTER 11: CASTERS, FORKSCHAPTER 11: CASTERS, FORKS
CHAPTER 11: CASTERS, FORKS
AND CASTER PIN LAND CASTER PIN L
AND CASTER PIN LAND CASTER PIN L
AND CASTER PIN L
OCKSOCKS
OCKSOCKS
OCKS
Figure 104
Replacing the Front Casters
Figure 106
Replacing the Front Fork Assembly
Figure 105
Front Fork Styles
Finish Washer
Allen Scrrew
Axle
Allen
Screw
Mounting
Fork
Front
Caster
Fork
Spacers
Finish Washer
Set Screw
Caster Barrel Cap
Fork Stem
Caster Barrel
Fork
3-4 BB 5-6 BB
3-4, 5-6
TRA, YRA, Evo, YG Series
3-4, 5-6, 7-8
TRA, YRA, Evo, YG Series
Fork

Table of Contents

Related product manuals