EasyManua.ls Logo

Toro 30317 - Drive System Maintenance

Toro 30317
56 pages
Print Icon
To Next Page IconTo Next Page
To Next Page IconTo Next Page
To Previous Page IconTo Previous Page
To Previous Page IconTo Previous Page
Loading...
Drive System
Maintenance
Checking the Tire Pressure
Maintain the air pressure in the front and rear
tires as specified. Chec k the pressure at the v alv e
stem after ev er y 50 operating hours or monthly ,
whic hev er occurs first ( Figure 42 ). Chec k the
tires when they are cold to g et the most accurate
pressure reading .
R ear Tire Pressure: 12-14 psi (83-97 kP a)
Caster Tire Pressure: 25-30 psi (172-207 kP a)
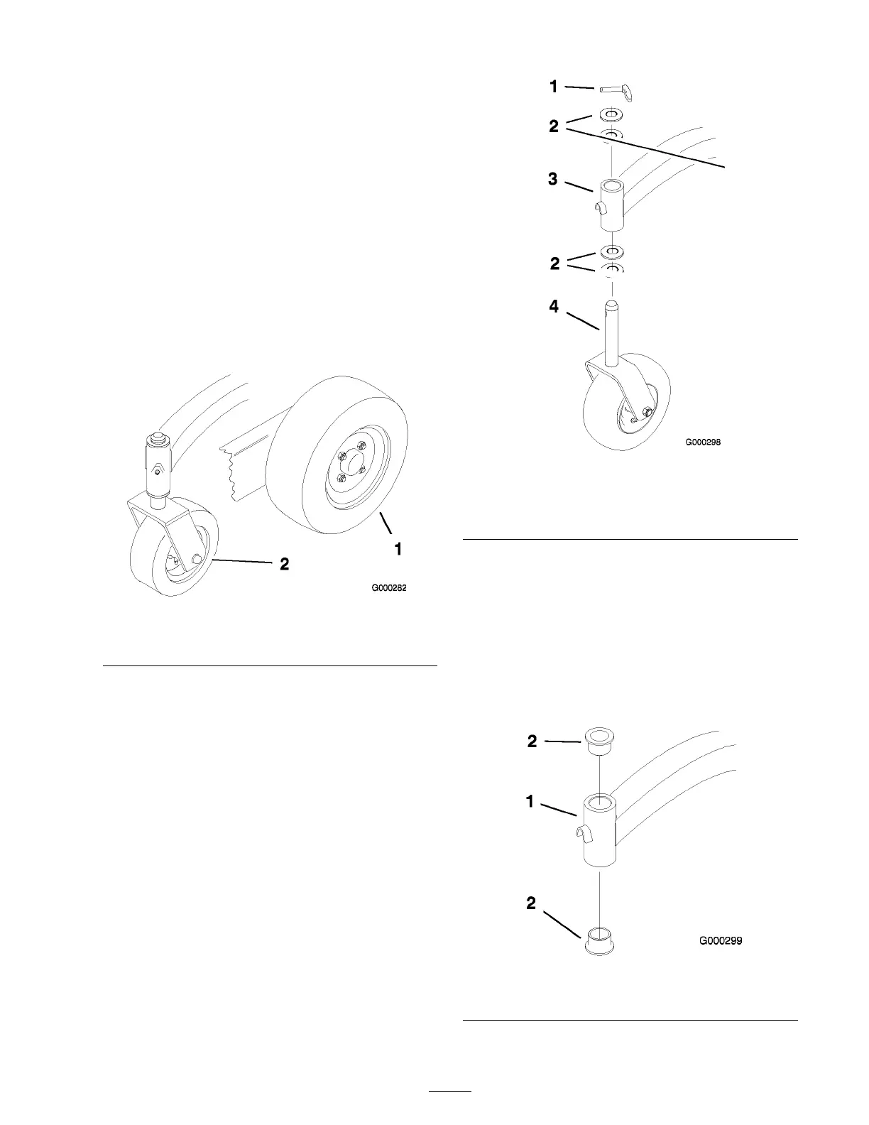
Figure 42
1. Rear Tire 2. Caster tire
Replacing the Caster Wheel
Fork Bushings
T he caster wheel forks are mounted in bushings
pressed into the top and bottom of the car rier
frame mounting tubes . T o c hec k the bushings ,
mo v e the caster forks bac k and for th and
side-to-side . If a caster fork is loose , the bushings
are w or n and m ust be re placed.
1. Raise the cutting unit so the caster wheels are
off the floor , then bloc k up the front of the
mo w er with jac k stands .
2. R emo v e the loc king pin and spacer(s) from the
top of the caster wheel fork ( Figure 43 ).
Figure 43
1. Locking Pin 3. Carrier frame mounting
tube
2. Spacers (locate as required)
4. Caster wheel fork
3. Pull the caster wheel fork out of the mounting
tube , lea ving the spacer(s) on the bottom of
the fork. R emember the location of the spacers
on eac h fork to ensure cor rect installation, and
to maintain a lev el dec k.
4. Inser t a pin punc h into the mounting tube and
carefully dri v e out the bushings ( Figure 44 ).
Clean the inside of the mounting tube .
Figure 44
1. Mounting Tube 2. Bushing
35

Table of Contents

Related product manuals