EasyManua.ls Logo

TREND MT/JIG - Set Centre Line

TREND MT/JIG
27 pages
Print Icon
To Next Page IconTo Next Page
To Next Page IconTo Next Page
To Previous Page IconTo Previous Page
To Previous Page IconTo Previous Page
Loading...
MT/JIG
-15-
3
3
1
1
2
L
5/8"
1/2"
3/8"
5/16"
1/4"
15.9mm
12.7mm
9.5mm
7.9mm
6.4mm
TENON WIDTH
5/8" 15.9
1/2" 12.7
3/8" 9.5
5/16" 7.9
1/4" 6.4
R
5/8" 15.9
1/2" 12.7
3/8" 9.5
5/16" 7.9
1/4" 6.4
Align with tenon end
& position templates
MORTISE & TENON JIG
SET-UP BAR
1. Set Timber Height
2. Set Centre Line
3. Set Tenon Length
GB222
GB254
GB286
GB302
GB318
C026
C022
C015
C012
C008
TENON BUSH MORTISE CUTTER
GUIDE BUSH & CUTTER SELECTION
NOTE
For tenon use cutter CO26
For mortise use 2-1/8" collar
WP-MT/02/UK
C
2
See
Note
C
L
5/8"
1/2"
3/8"
5/16
1/4"
TEN
5/8" 15.9
1/2" 12.7
3/8" 9.5
5/16" 7.9
1/4" 6.4
R
5/8" 15.9
1/2" 12.7
3/8" 9.5
5/16" 7.9
1/4" 6.4
Align with tenon end
& position templates
G
G
L
5/8"
1/2"
3/8"
5/16"
1/4"
1
1
9
7
6
TENON
5/8" 15.9
1/2" 12.7
3/8" 9.5
5/16" 7.9
1/4" 6.4
R
5/8" 15.9
1/2" 12.7
3/8" 9.5
5/16" 7.9
1/4" 6.4
Align with tenon end
& position templates
GUID
C
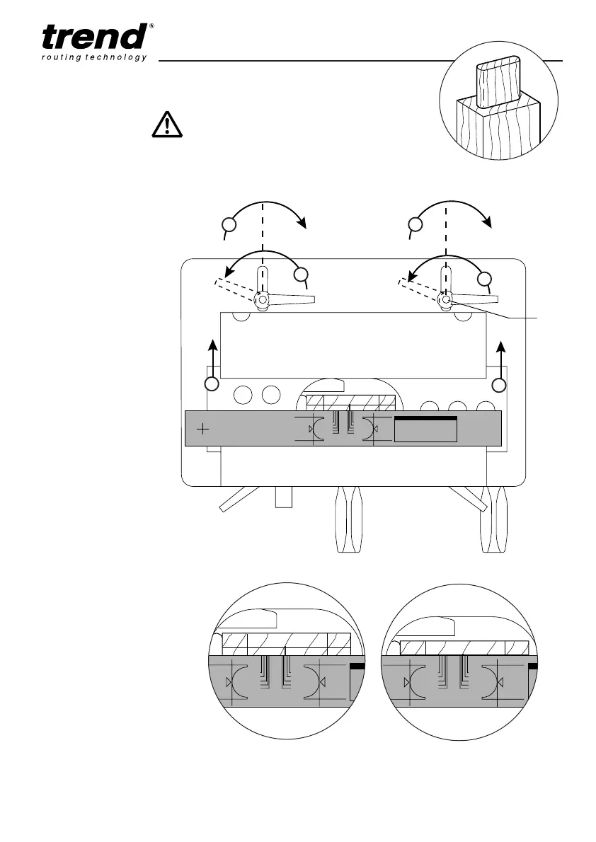
Set Centre Line
Release levers.
Adjust position of
top plate until the
down stand of the
set-up bar aligns
with the centre
line.
Tighten levers.
NOTE:
If routing a long
mortise on maximum
size timber it may be
necessary to remove
the right hand male
adjustable lever and
replace it with an
unused F clamp
flanged machine
screw
Ref. WP-SCW/73
.
MANU-M&Tv2.2 8/7/10 10:51 Page 15

Related product manuals