EasyManua.ls Logo

TREND MT/JIG - Setting up for the Mortise

TREND MT/JIG
27 pages
Print Icon
To Next Page IconTo Next Page
To Next Page IconTo Next Page
To Previous Page IconTo Previous Page
To Previous Page IconTo Previous Page
Loading...
MT/JIG
-19-
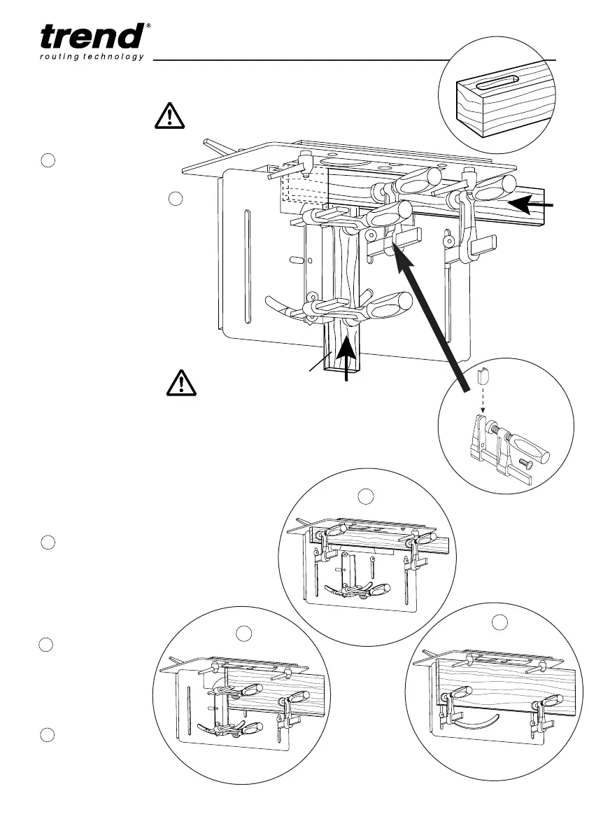
Support Piece
Setting Up for
the Mortise
Clamp the timber
for the mortise
horizontally flush
underneath the
top plate.
When narrow
timbers are to be
used and when
the mortise is at
the end of the
timber, the fourth
F clamp can be
used to secure it.
The plastic cap
should be fitted
as shown.
A scrap piece of
timber can also
be clamped
vertically to give
support and to
assist in positioning
of the horizontal
timber.
This alternative
set-up with fourth
F clamp fitted in
position on the
left slot of the
tilting back plate
can be used.
Wider timber can
be also
accommodated
by using the top
clamp of the
vertical guide.
Or removing the
vertical guide and
clamps and using
a clamp in the left
slot of the tilting
back plate.
A
A
B
C
D
When cutting at the end of
the timber it is advisable to
add extra support or
alternatively use a longer
length of timber and then
cut it to length.
B
C
D
MANU-M&Tv2.2 8/7/10 10:51 Page 19

Related product manuals