EasyManua.ls Logo

Troxler 3440 Plus - Page 129

Troxler 3440 Plus
218 pages
Print Icon
To Next Page IconTo Next Page
To Next Page IconTo Next Page
To Previous Page IconTo Previous Page
To Previous Page IconTo Previous Page
Loading...
Model 3430 Plus & 3440 Plus
Appendix A–7
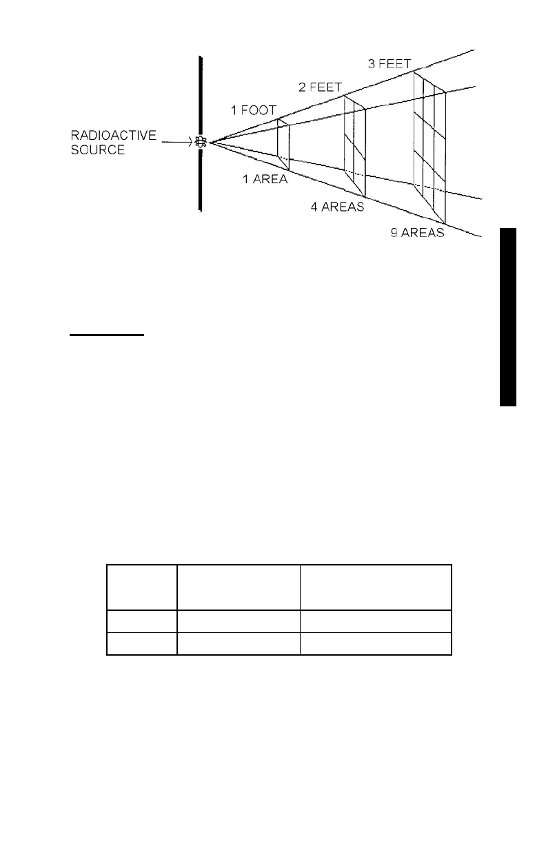
Figure A2. Effect of Distance on Exposure
Shielding
Shielding is any material used to reduce the radiation exposure rate
from a radioactive source. The gauge has some built-in shielding,
which reduces the exposure rate. When gauges are in storage,
additional shielding may be necessary to keep exposure to personnel
in adjacent areas below the dose limits for members of the public.
The thickness of any material that reduces the incident radiation
intensity by one-half is known as the half-value layer (HVL). The
HVL of a material varies with the type and energy of radiation. The
HVL values of certain common shielding materials are shown
below for gamma and fast neutron radiation.
Material
Cs-137 Gamma
Half-Value Layer
Am-241:Be Neutrons
Half-Value Layer
Concrete 1.9 inches 4.3 inches
Lead 0.3 inches *
* Lead does not provide any effective shielding of fast
neutrons.
A. RADIATION THEORY

Table of Contents

Related product manuals