EasyManua.ls Logo

Truma Mover XT4 - Montage Speciale Toebehoren en Accessoires; Plaatskeuze; Spatlappen

Truma Mover XT4
Print Icon
To Next Page IconTo Next Page
To Next Page IconTo Next Page
To Previous Page IconTo Previous Page
To Previous Page IconTo Previous Page
Loading...
63
Montage speciale toebehoren en accessoires
1. Afstandsset 30 mm
Ter compensatie van de hoogte voor caravans met een chas-
sishoogte van < 140 mm tot 110 mm,
art.-nr. 60030-95000.
Afbeelding 9
2. Afstandsset 60 mm
Ter compensatie van de hoogte voor caravans met een chas-
sishoogte van < 110 mm tot 80 mm,
art.-nr. 60030-95100.
Afbeelding 10
3. Set voor plat chassis
Ter compensatie van de hoogte voor caravans met een chas-
sishoogte van minder dan 80 mm en / of het overbruggen
van chassisverstijvingen,
art.-nr. 60010-64900.
Afbeelding 11
Bij gebruik van deze set voor plat chassis moet in
Duitsland een keuring door een erkend voertuig-
expert worden uitgevoerd.
4. Set voor plat chassis kort
Ter compensatie van de hoogte voor caravans met een
chassishoogte van minder dan 80 mm,
art.-nr. 60030-37600.
Afbeelding 12
Bij gebruik van deze set voor plat chassis moet in
Duitsland een keuring door een erkend voertuig-
expert worden uitgevoerd.
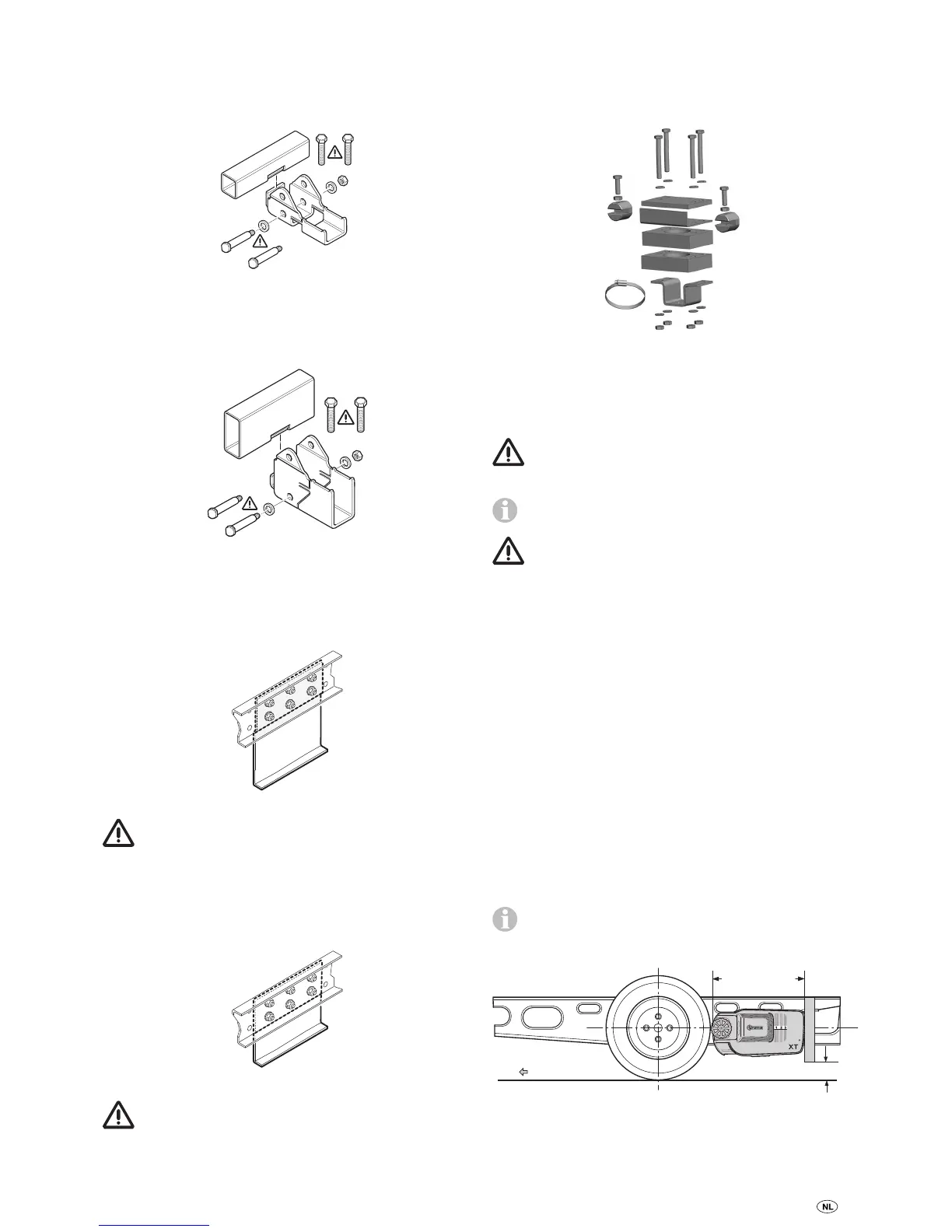
5. Bevestigingssysteem kort
Ter vervanging van het standaard bevestigingssysteem als dit
om redenen van een beperkt beschikbare ruimte niet te ge-
bruiken is en ter compensatie van de hoogte (30 of 60 mm) bij
onderbouw van bijv. tanks
Art.-nr. 60031-20000
Afbeelding 13
6. Spatlappenset (zonder afbeelding)
Reserve voor de standaard spatlappen als deze niet kunnen
worden aangepast aan de Mover®.
Art.-nr. 60031-08200
In sommige gevallen is de montage in verband met de
constructie van de ondervloer niet mogelijk. Vraag
eventueel uw dealer.
Gedetailleerde montage-instructies zijn bij de betreffende
aanbouwset gevoegd.
De montage van de Mover®XT4 op caravans met
andere chassis is niet toegestaan!
Boren in of lassen aan het chassis van het voertuig is niet
toegestaan (met uitzondering van het gebruik van de extra set
voor plat chassis). Onder geen voorwaarde mogen onderdelen
van de wielophanging worden gedemonteerd.
Plaatskeuze
Voor de bevestiging van de Mover®XT4 mogen uitsluitend de
bijgeleverde bouten (of de als speciale onderdelen verkrijgba-
re montagedelen) worden gebruikt.
Spatlappen
Als er een Mover® wordt gemonteerd, moeten de voorhanden
spatlappen eventueel worden verplaatst / aangepast (afstand
band / spatlap max. 300 mm).
Als de originele spatlappen niet kunnen worden gebruikt,
moet de Truma spatlappenset (art.-nr. 60031-08200) worden
gebruikt en op maat worden gemaakt.
Spatlappen worden achter de as gemonteerd, vóór de as
zijn geen spatlappen nodig.
max. 200 mm
Rijrichting
Mover
max.
300 mm
Mover® XT4
Afbeelding 14

Table of Contents

Other manuals for Truma Mover XT4

Related product manuals