EasyManua.ls Logo

Truma Trumatic E 2400 E - Installing the Ducts with Leadthroughs; Warm Air Distribution; Circulating Air Return; Control Panel Installation

Truma Trumatic E 2400 E
Print Icon
To Next Page IconTo Next Page
To Next Page IconTo Next Page
To Previous Page IconTo Previous Page
To Previous Page IconTo Previous Page
Loading...
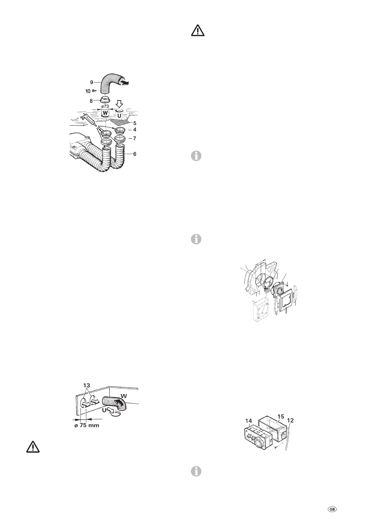
Installing the ducts with leadthroughs
Drill two openings Ø 73 mm (W + U). Coat the flange of the
connector pieces (4) with plastic body sealant and screw on,
placing the protection grille between them at the hole (U).
Cut the two duct sections LF 18 (6) to length as required, coat
the inside with plastic body sealant and slide onto the connec-
tor pieces (4). Secure with clip (7).
Fig. 20
Screw on the connector piece (8) over the opening (W) in the
interior (can also be screwed on together with the exterior
connector piece). In the case of hollow double walls, the inter-
mediate space must be sealed.
Warm air distribution
Connect the duct VR 80 (9) Ø 80 mm and secure it with a
self-tapping screw (10). The various pieces for the duct branch
can also be fitted to the connector piece (8), allowing the
ducts R 72 (Ø 72 mm), ÜR (Ø 65 mm) or ZR 18 (Ø 49 mm) to
be routed further.
To prevent overheating, at least one air duct must be not
able to be closed (swivel air outlet SCW 2). Secure all duct
connections with self-tapping screws. Fix ducts with clamps.
The warm air system is designed individually for each vehicle
type using the modular design principle. A wide range of ac-
cessories is available for this purpose (see brochure). Diagrams
with optimum installation suggestions for hot air systems in all
of the most popular camper models can be requested free of
charge via the Truma service centre.
Circulating air return
The heater must be able to draw in a sufficient amount of
circulating air through the opening (U). If the circulating air
return takes place within a storage box, drill two holes (13) of
Ø 75 mm each or make an opening of an appropriate size.
Fig. 21
Do not obstruct the air routes to the heater
If the entire stowage space is to remain fully usable, the return
air can be drawn in via a swivel air outlet SCW 2 and a duct
section VR 80. To do so, screw a connector piece over the
opening (U). The maximum total length to the heater is 2m!
Control panel installation
When using vehicle-specific or manufacturer-specific
control panels, the electrical connection must be made
according to the Truma interface descriptions. Any modi-
fications to the associated Truma parts will invalidate the
warranty and preclude any liability claims. The installer (man-
ufacturer) is responsible for providing the user with operating
instructions and the information that is printed on the control
panels.
When choosing a location, please note that the control panels
must not be subjected to direct heat radiation. The length of
the connector cable is 4 m or 10 m.
If it is only possible to install the control panel behind curtains
or in similar locations with an inconsistent temperature, a re-
mote sensor must be used to monitor the room temperature
(accessories).
Installing the control panel with rotary switch
If flush-mounting is not possible for the control panel,
Truma can provide on request an on-surface frame (1) as
an accessory.
Drill hole with diameter of 55 mm.
Connect the control panel cable (2) to the control panel (3)
and then connect the rear blank cover (4) as strain relief.
Slide the cable through towards the rear and route to the elec-
tronic control unit.
Attach control panel with 4 screws (5) and fit the cover frame (6).
Truma supplies side parts (7) to improve the appearance
of the cover frame (6). Please contact your dealer.
Ø 55 mm
2
7
7
6
1
3
5
4
Fig. 22
Installing the control panel with slide switch
For existing installation cut-outs:
Remove the cover from the installation cut-out.
Connect the control panel cable (12) to the control panel (14),
lead to the rear through the installation cut-out and route to
the electronic control unit.
Press in the control panel (14) until the front surface is flush.
Fig. 23
If there is no installation cut-out, the control panel can
be installed with the flush frame provided.
If flush-mounting is not possible, Truma can provide on re-
quest an on-surface frame as an accessory.
23

Table of Contents

Related product manuals