EasyManua.ls Logo

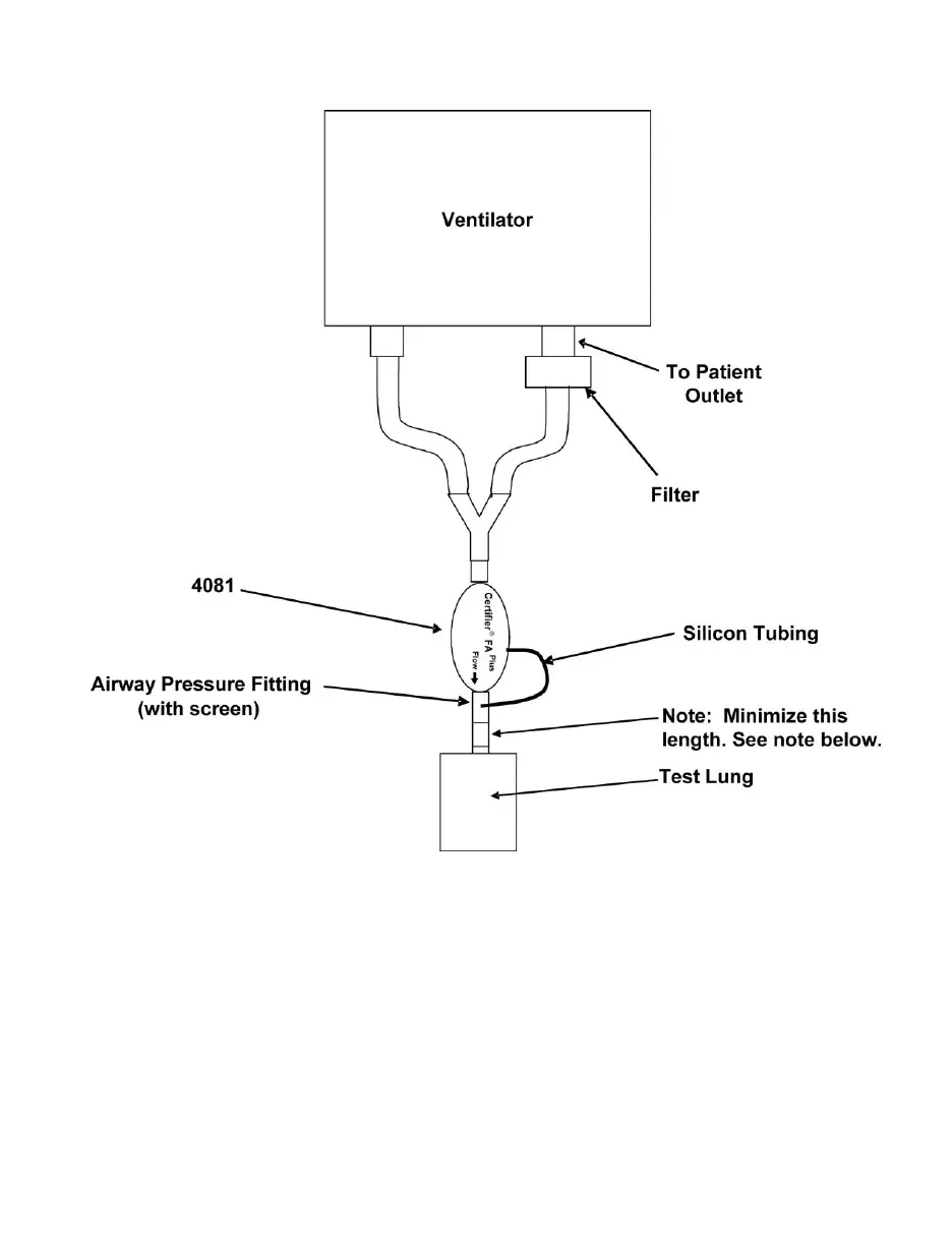
TSI Incorporated Certifier FA Plus - Figure 12. Test Circuit for Bi-Directional Flow

TSI Incorporated Certifier FA Plus
63 pages
Print Icon
To Next Page IconTo Next Page
To Next Page IconTo Next Page
To Previous Page IconTo Previous Page
To Previous Page IconTo Previous Page
Loading...
2: Setup and Operation 13
Figure 12. Test Circuit for Bi-Directional Flow
Note: If using a test lung with a built in restrictor or a separate restrictor, place the
airway pressure fitting at least 15 cm of the 22 mm tubing between the restrictor
and the flow module. If this is not done, the flow direction sensor may not work
properly.

Table of Contents