EasyManua.ls Logo

TSI Incorporated Certifier FA Plus - Figure 21. Parameter Definitions

TSI Incorporated Certifier FA Plus
63 pages
Print Icon
To Next Page IconTo Next Page
To Next Page IconTo Next Page
To Previous Page IconTo Previous Page
To Previous Page IconTo Previous Page
Loading...
2: Setup and Operation 23
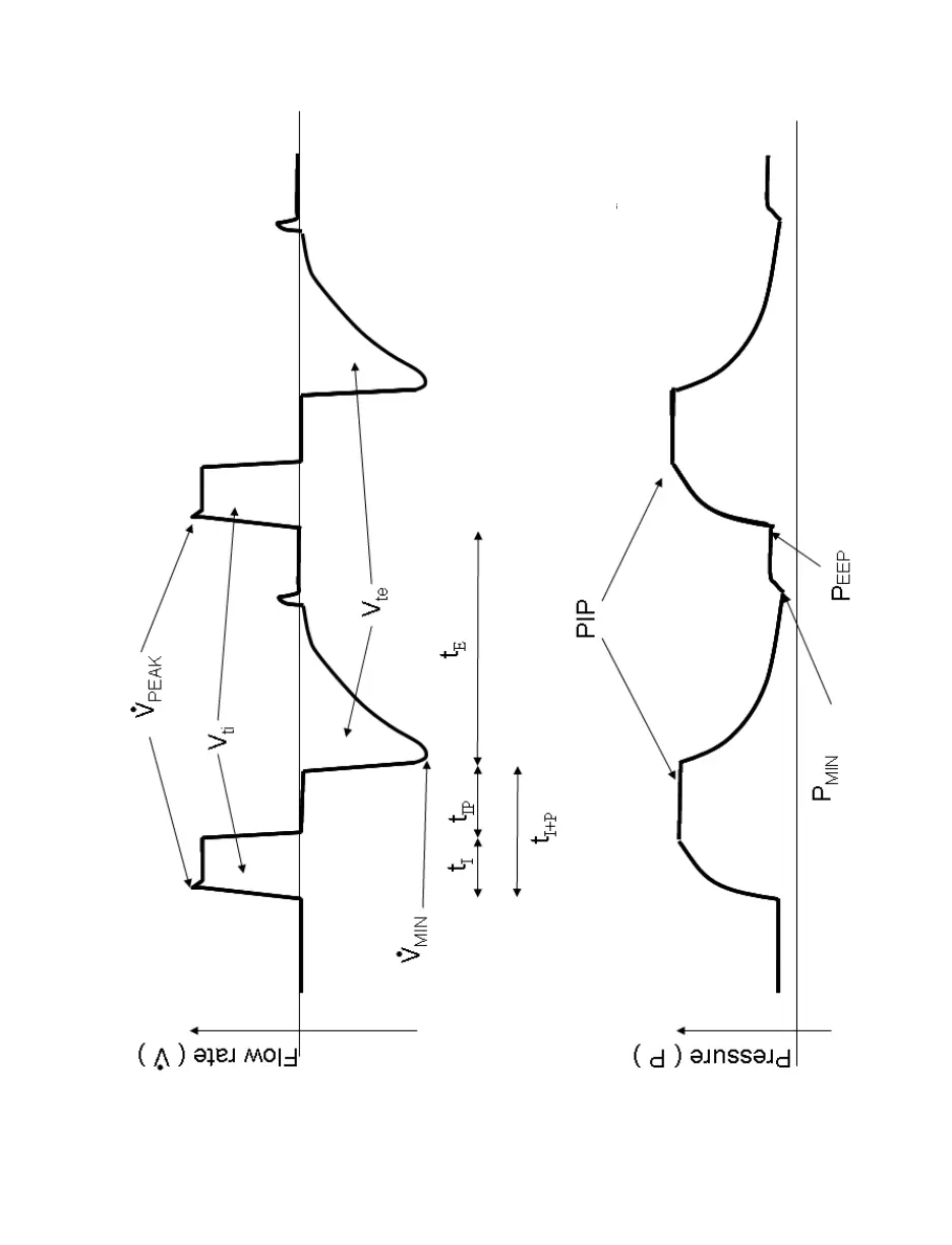
Figure 21. Parameter Definitions
I:E = t
E
/ t
I
I:E
IP
= t
E
/ t
I+P
f = 1
/ (t
I+P
+ t
E
)
MV = V
TI
f

Table of Contents