EasyManua.ls Logo

Upright MX15 - Figure 5-4: Plug Diagram

Upright MX15
114 pages
Print Icon
To Next Page IconTo Next Page
To Next Page IconTo Next Page
To Previous Page IconTo Previous Page
To Previous Page IconTo Previous Page
Loading...
Page 5-7
Schematics 5.3 - Hydraulic Schematic
MX15/19
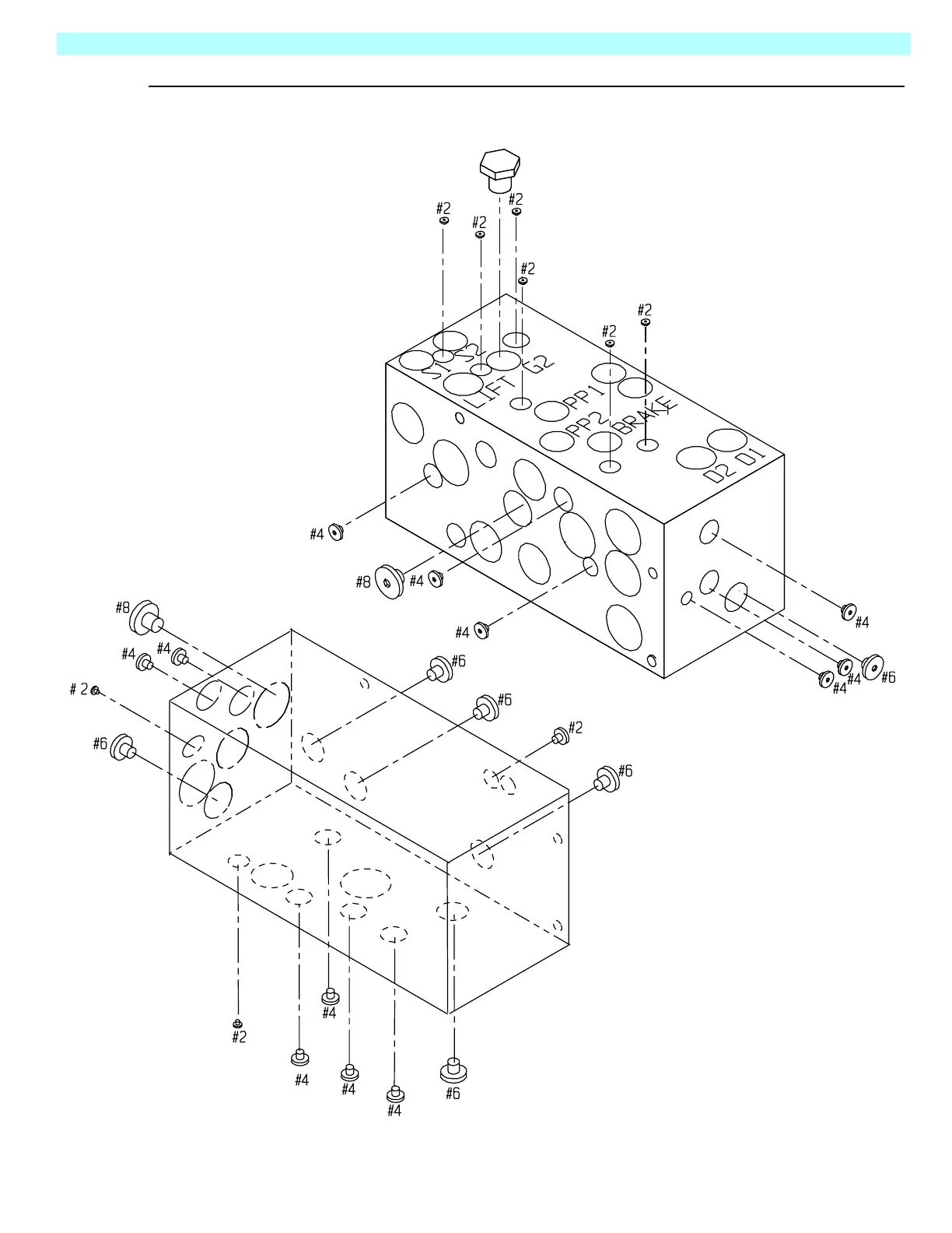
Figure 5-4:
Plug Diagram
#2 Plug #2
#4 Plug #4
#6 Plug #6
#8 Plug #8
Front
Bottom
Top
Left
Right
Rear
060569-004

Table of Contents

Other manuals for Upright MX15

Related product manuals