EasyManua.ls Logo

Valor 940 - 9. Convection Box Installation; Method 1 - Front Fixing; Method 2 - Cable Retention and Floor Fixing

Valor 940
60 pages
Print Icon
To Next Page IconTo Next Page
To Next Page IconTo Next Page
To Previous Page IconTo Previous Page
To Previous Page IconTo Previous Page
Loading...
9. CONVECTION BOX INSTALLATION
9.1 Method 1 - Front fixing to fireplace surround.
1. Make sure that the fireplace front surround
area is sound enough to take the fibre / wooden
plugs and woodscrews. If necessary, make
sound with suitable cement.
2. Place the convection box centrally in the
fireplace in the position in which it is to be
permanently installed. If a concealed connection
is being used, insert the convection box into the
fireplace feeding the supply pipe through the
pierced hole in the rear grommet.
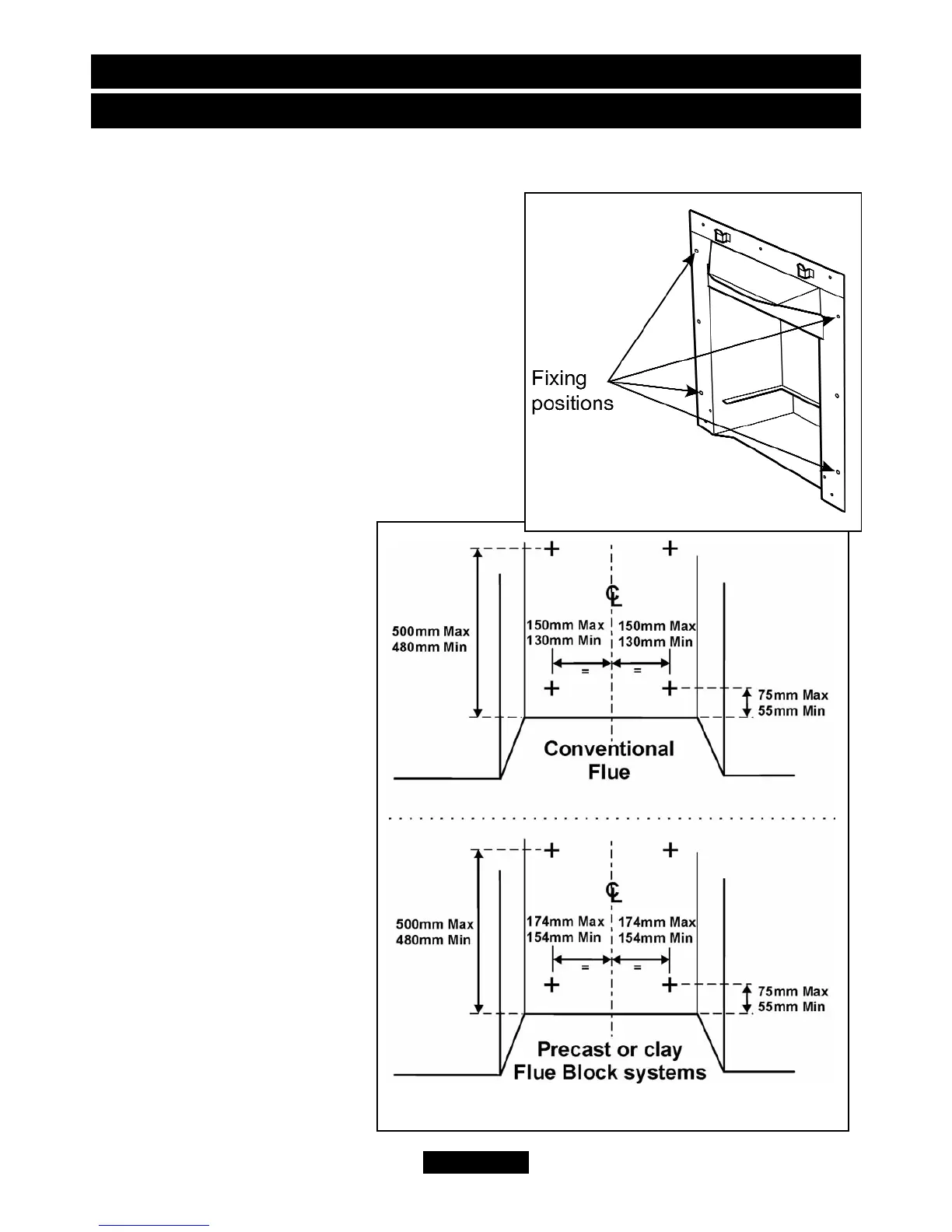
3. Mark the fireplace front surround through the
four fixing holes in the side flanges of the
convection box (See figure 20).
4. Remove the convection box. Drill four holes
in the fireplace front surround
at the marked positions using a
suitably sized masonry drill bit
for the wall plugs supplied.
5. Insert a fibre / wooden plug
into each hole.
6. Place the convection box
back in position in the fireplace.
7. Fit a woodscrew through
each hole in the convection box
flanges and tighten to seal the
box to the fireplace surround.
9.2 Method 2 - Cable
retention and floor fixing.
1. Make sure that the relevant
areas at the fireplace back or
floor are sound enough to take
the eyebolts and screws. If
these areas have deteriorated
due to prolonged use they
should be made sound with
suitable cement.
2. Drill four holes in the rear
wall of the fireplace for the
eyebolt plugs. The holes
© GDC Group Ltd. 2011
Page 26
INSTALLER GUIDE
Figure 21. Eyebolt positions
Figure 20. Front fixing

Table of Contents

Related product manuals