EasyManua.ls Logo

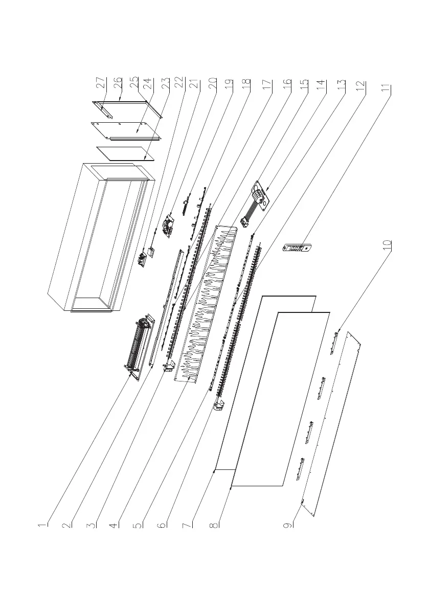
Valor LEX2-S - Service Parts List & Wiring Diagram

Valor LEX2-S
36 pages
Print Icon
To Next Page IconTo Next Page
To Next Page IconTo Next Page
To Previous Page IconTo Previous Page
To Previous Page IconTo Previous Page
Loading...
30
SERVICE PARTS LIST & WIRING DIAGRAM

Related product manuals