EasyManua.ls Logo

VDO MTCO 1324 - Съобщения; Появява Се Съобщение; Показване На Паметта За Грешки

VDO MTCO 1324
152 pages
Print Icon
To Next Page IconTo Next Page
To Next Page IconTo Next Page
To Previous Page IconTo Previous Page
To Previous Page IconTo Previous Page
Loading...
50 Kienzle MTCO 1324
Съобщения
MTCO 1324 контролира функцията на
системата и съобщава автоматично, ако
има налична грешка на компонент, в уреда
или в обслужването. Съобщенията и
указанията могат да се появят на дисплея
веднага след затваряне на капака или при
всяко настъпване.
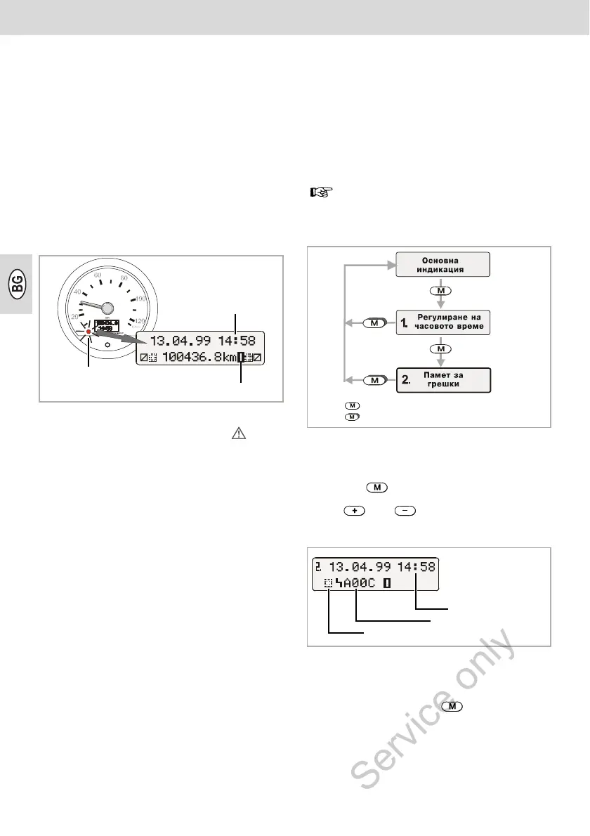
Появява се съобщение
Свети контролът на функцията (1)
на индикаторния инструмент респ. на
E-Tacho,
на дисплея на MTCO 1324 до общия
километраж се появява символът за
грешка (2) и ...
според вида на грешката мига цялото
часово време (3) респ. двоеточието в
часовото време вече не мига.
Грешката се регистрира допълнително в
електронната памет, вижте
"Показване на паметта за грешки".
Някои смущения MTCO 1324
документира и на тахошайбата,
вижте стр. 57.
Показване на паметта за грешки
Причината за съобщението за
неизправност виждате на менюто ПАМЕТ
ЗА ГРЕШКИ.
1. Изберете меню ПАМЕТ ЗА ГРЕШКИ,
като натиснете два пъти за кратко
бутон .
2. С или могат да се покажат и
други активни грешки.
3. Отново извикайте основната
индикация,
натиснете бутон по-дълго от 2
секунди
или в продължение на 20 секунди не
натискайте никакъв бутон.
2
3
1
Извикването на функцията показване
на ПАМЕТ ЗА ГРЕШКИ е възможно
само при спряло превозно средство!
= Натиснете бутона за кратко
= Натиснете бутона продължително
Начало на грешката
Символ с код за грешка
налични и други съобщения за грешки
Service only

Table of Contents

Related product manuals