EasyManua.ls Logo

VDO MTCO 1324 - Sporočila; Pojavi Se Sporočilo; Pomnilnik Napak Prikaz

VDO MTCO 1324
152 pages
Print Icon
To Next Page IconTo Next Page
To Next Page IconTo Next Page
To Previous Page IconTo Previous Page
To Previous Page IconTo Previous Page
Loading...
86 Kienzle MTCO 1324
Sporočila
MTCO 1324 nadzira delovanje sistema in
avtomatsko javlja, če se pojavi napaka ene
od komponent, v napravi ali v upravljanju.
Prijave in napotki se lahko pojavijo na
displeyu takoj, ko zaprete predal ali
vsakokrat, ko se pojavijo.
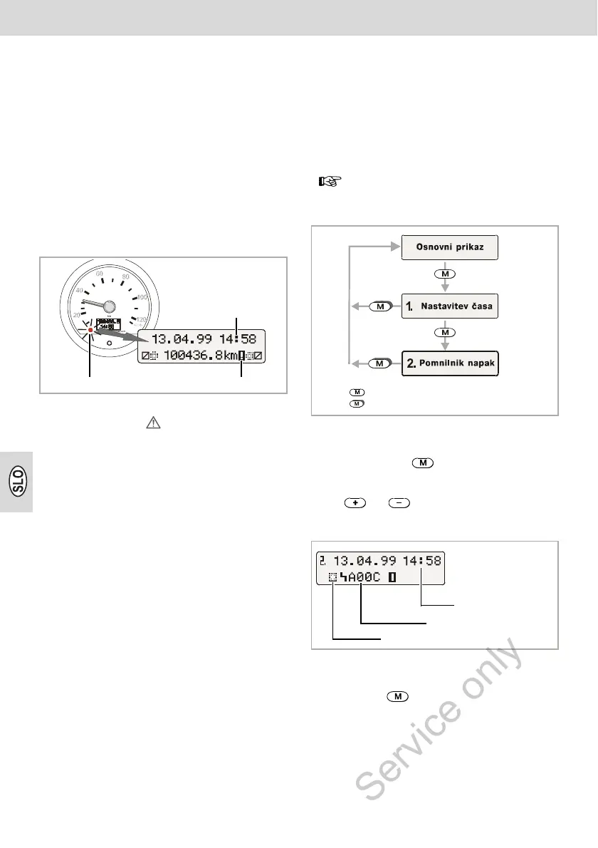
Pojavi se sporočilo
Kontrola funkcij (1) na instrumentu za
prikaze oz. E-taho sveti,
na displayu MTCO 1324 se prikaže
poleg stanja vseh kilometrov klicaj (2)
in ...
utripajoči kompleten prikaz časa (3),
skupaj z dvopičjem.
Dodatno je registrirana napaka v
elektronskem pomnilniku,
glej "Pomnilnik napak prikaz".
Nekaj motenj dokumentira MTCO 1324
tudi na preglednici, glej stran 93.
Pomnilnik napak prikaz
Vzrok napake odčitamo v tabeli "Kode
napak - pregled".
1. Meni POMNILNIK NAPAK izberete
tako, da tipko dvakrat kratko
pritisnete.
2. S ali je mogoče izbrati
nadaljnje aktivne napake.
3. Ponovno prikličite snovni prikaz.
Tipko drž
ite dalje od 2 sekunde
ali 20 sekund ne držite nobene tipke.
3
1
2
Priklic funkcije POMNILNIK-NAPAK
prikaz je mogoč le pri vozilu, ki stoji!
= Tipko kratko pritisnite
= Tipko dugo pritisnite
Začetek napake
Simbol s kodo napake
Obstajajo nadaljnje prijave napak
Service only

Table of Contents

Related product manuals