EasyManua.ls Logo

Viper 600 ESP - Transmitter Configurations; Standard Configuration; Single Button Arm;Disarm Configuration

Viper 600 ESP
43 pages
Print Icon
To Next Page IconTo Next Page
To Next Page IconTo Next Page
To Previous Page IconTo Previous Page
To Previous Page IconTo Previous Page
Loading...
© 1999 Directed Electronics, Inc. Vista, CA 37
transmitter configurations
The transmitters can be programmed with the standard or single button arm/disarm configurations by using the
Auto Learn functions in the Transmitter/Receiver Learn Routine.
A remote that uses the standard configuration operates similarly to many factory keyless entry remotes. A stan-
dard configuration transmitter allows arming, disarming, and Panic Mode activation with separate buttons. When
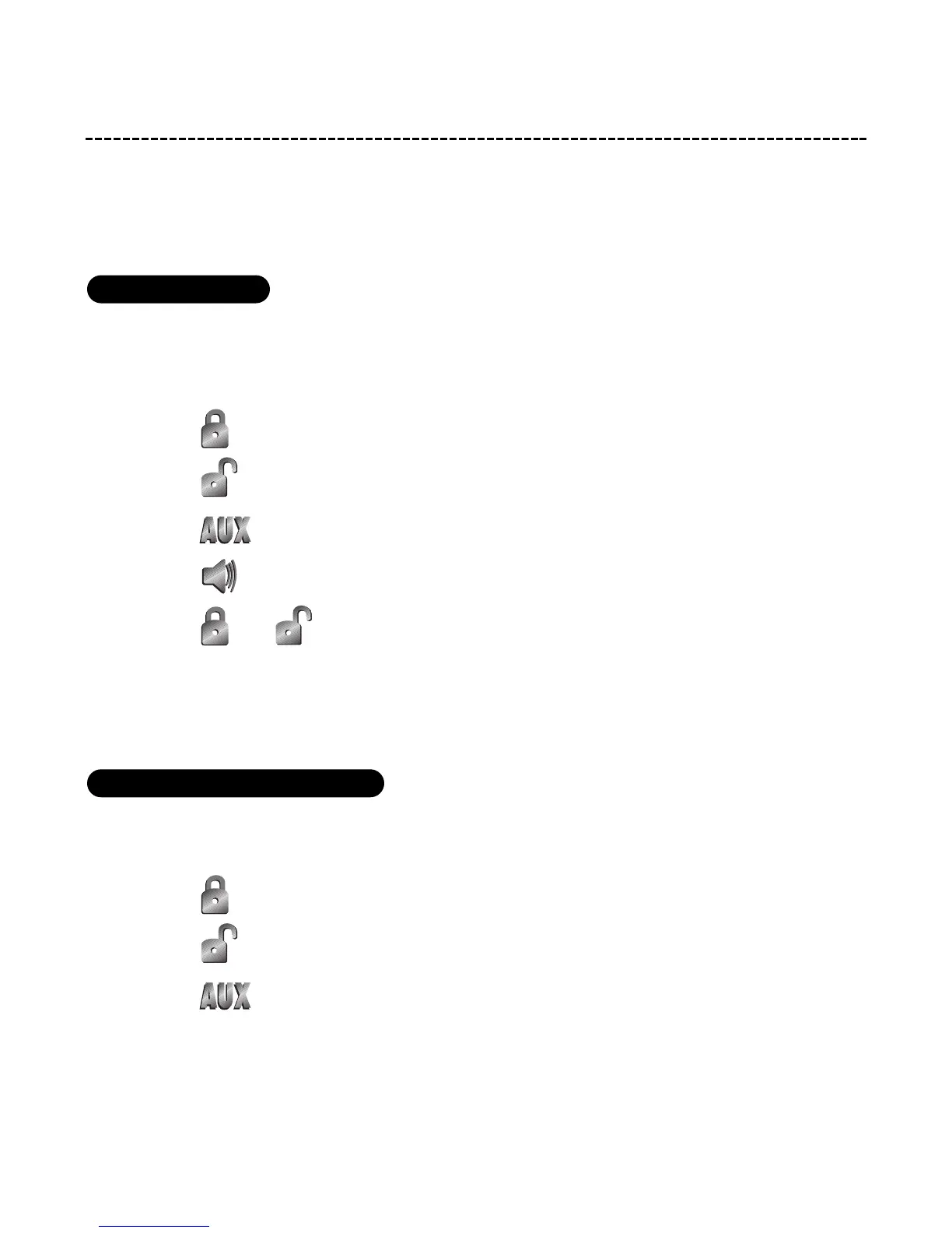
programmed for standard configuration, the transmitter buttons are assigned to the following functions:
. . . . . . . . . . . . . . operates . . . . . . . . Arm only
. . . . . . . . . . . . . operates . . . . . . . . Disarm only
. . . . . . . . . . . . operates . . . . . . . . Channel 2
. . . . . . . . . . . . . operates . . . . . . . . Panic
and . . . . . operate. . . . . . . . . Channel 3
The standard configuration also allows the user to utilize Multi-Level Security Arming (described in the follow-
ing section), a feature that cannot be accessed from a single button arm/disarm configuration transmitter.
When programmed for single button arm/disarm configuration, the transmitter buttons are assigned to the fol-
lowing functions:
. . . . . . . . . . . . operates . . . . . . . . . . Arm/Disarm/Panic
. . . . . . . . . . . operates . . . . . . . . . . Channel 2
. . . . . . . . . . operates . . . . . . . . . . Channel 3
single button arm/disarm configuration
standard configuration

Table of Contents

Related product manuals