EasyManua.ls Logo

Viper 600 ESP - Door Lock Wiring Guide

Viper 600 ESP
43 pages
Print Icon
To Next Page IconTo Next Page
To Next Page IconTo Next Page
To Previous Page IconTo Previous Page
To Previous Page IconTo Previous Page
Loading...
20 © 1999 Directed Electronics, Inc. Vista, CA
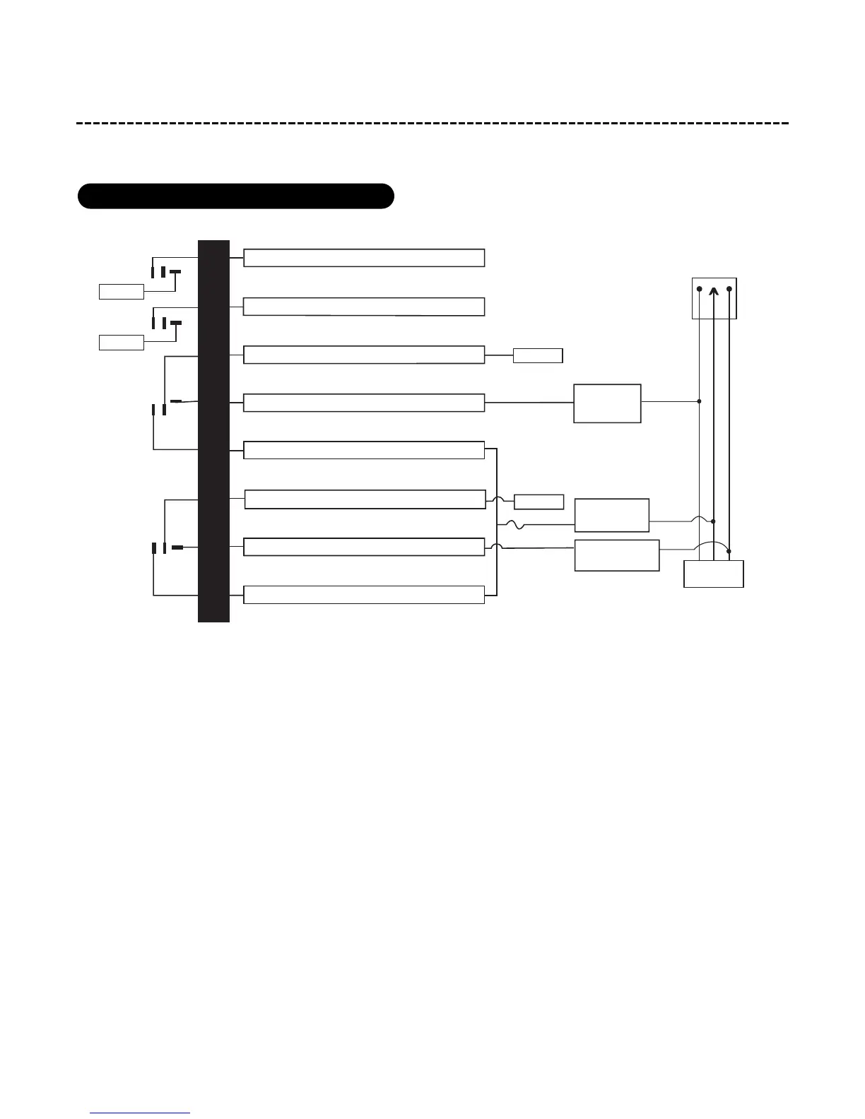
door lock wiring guide
H2/A
H2/B
H2/C
H2/D
H2/E
H2/F
H2/G
H2/H
TRUNK
RELEASE
RELAY
TO H1/12
DOMELIGHT
SUPERVISION
RELAY
TO H1/4
LOCK
RELAY
UNLOCK
RELAY
#87
#87A
#30A
#87
#87A
#30A
NOT USED
NOT USED
VEHICLE (+)
LOCK TRIGGER
CIRCUIT
VEHICLE FUSED
+12 VOLT
CONSTANT
VEHICLE (+)
UNLOCK TRIGGER
CIRCUIT
LOCK UNLOCK
FACTORY LOCK
SWITCH
TO FACTORY
RELAYS
RED/WHITE CHANNEL 2 RELAY INPUT #87
BLACK/WHITE DOMELIGHT SUPERVISION INPUT #87
GREEN/BLACK LOCK #30 COMMON (OUTPUT)
WHITE/BLACK LOCK #87A NORMALLY CLOSED
VIOLET/BLACK LOCK #87 NORMALLY OPEN (INPUT)
BROWN/BLACK UNLOCK #87A NORMALLY CLOSED
BLUE/BLACK UNLOCK #30 COMMON (OUTPUT)
VIOLET UNLOCK #87 NORMALLY OPEN (INPUT)
15A
type A: positive-triggered, relay-driven systems

Table of Contents

Related product manuals