EasyManua.ls Logo

Water Process Solutions Encore 700 - Issue

Water Process Solutions Encore 700
128 pages
Print Icon
To Next Page IconTo Next Page
To Next Page IconTo Next Page
To Previous Page IconTo Previous Page
To Previous Page IconTo Previous Page
Loading...
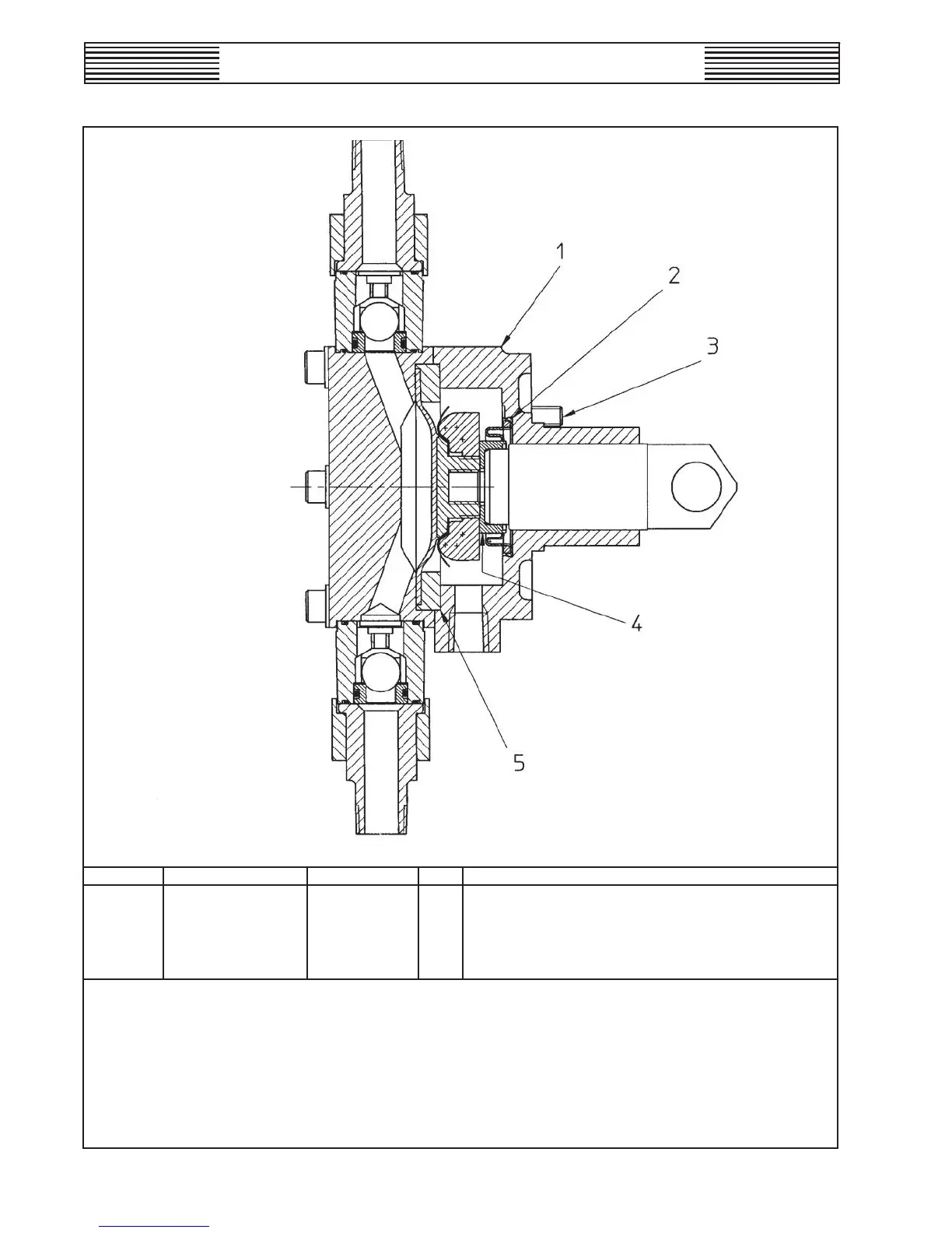
ENCORE
®
700 METERING PUMP
KEY NO.
LEGACY PART NO.
ALT PART NO.
QTY.
DESCRIPTION
*•
1
APM5645
W2T367112
1
ADAPTER, 3" DIAPHRAGM
*•
2
AAB7205
W2T9156
1
SEAL, BELLOW, CROSSHEAD
3
AXS3583
W2T11181
4
SCREW, CAP, M8 x 25, SOCK. HD., 316SS
4
AJA5915
W2T11357
1
CLAMP, DIAPHRAGM, BELLOW
5
AJE5301
W2T11428
1
SPACER, 3" DIAPHRAGM
NOTES:
PART OF APS4105 (W3T98114).
*
AAB9299 ADAPTER WITH PRE-INSTALLED BELLOW SEAL CAN BE ORDERED IN PLACE OF KEY NO.'S 1 & 2.
WHEN ORDERING MATERIAL, ALWAYS SPECIFY MODEL AND SERIAL NUMBER OF APPARATUS.
3” LIQUID END ADAPTER - PARTS
440.400.001.050
ISSUE 2 1-10
WT.440.400.001.UA.IM.1012
87

Table of Contents