EasyManua.ls Logo

Water Process Solutions Encore 700 - 3 Liquid End

Water Process Solutions Encore 700
128 pages
Print Icon
To Next Page IconTo Next Page
To Next Page IconTo Next Page
To Previous Page IconTo Previous Page
To Previous Page IconTo Previous Page
Loading...
ENCORE
®
700 METERING PUMP
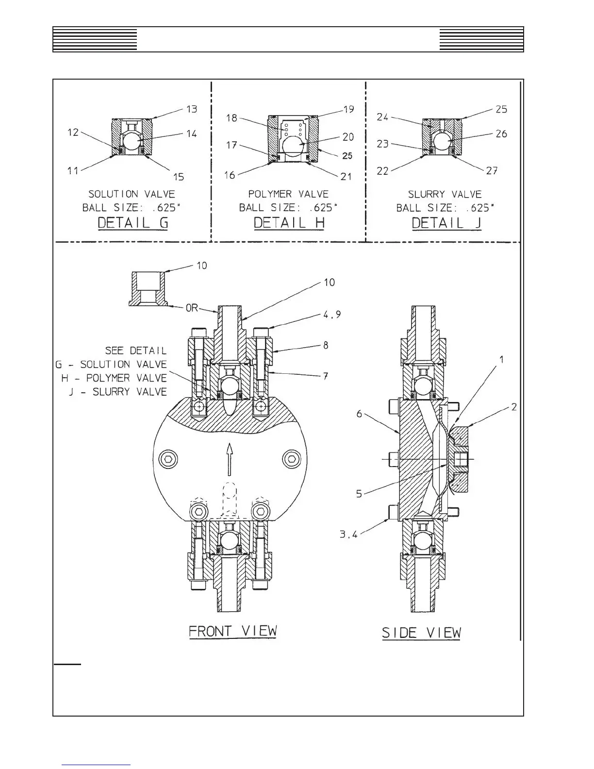
NOTE: FOR PARTS LIST SEE DWGS. 440.400.010.010C&D.
3” LIQUID END - PARTS
440.400.010.010A
ISSUE 3 4-09
WT.440.400.001.UA.IM.1012
83

Table of Contents