EasyManua.ls Logo

Water Process Solutions Encore 700 - 1-3;8 Threaded Liquid End

Water Process Solutions Encore 700
128 pages
Print Icon
To Next Page IconTo Next Page
To Next Page IconTo Next Page
To Previous Page IconTo Previous Page
To Previous Page IconTo Previous Page
Loading...
73
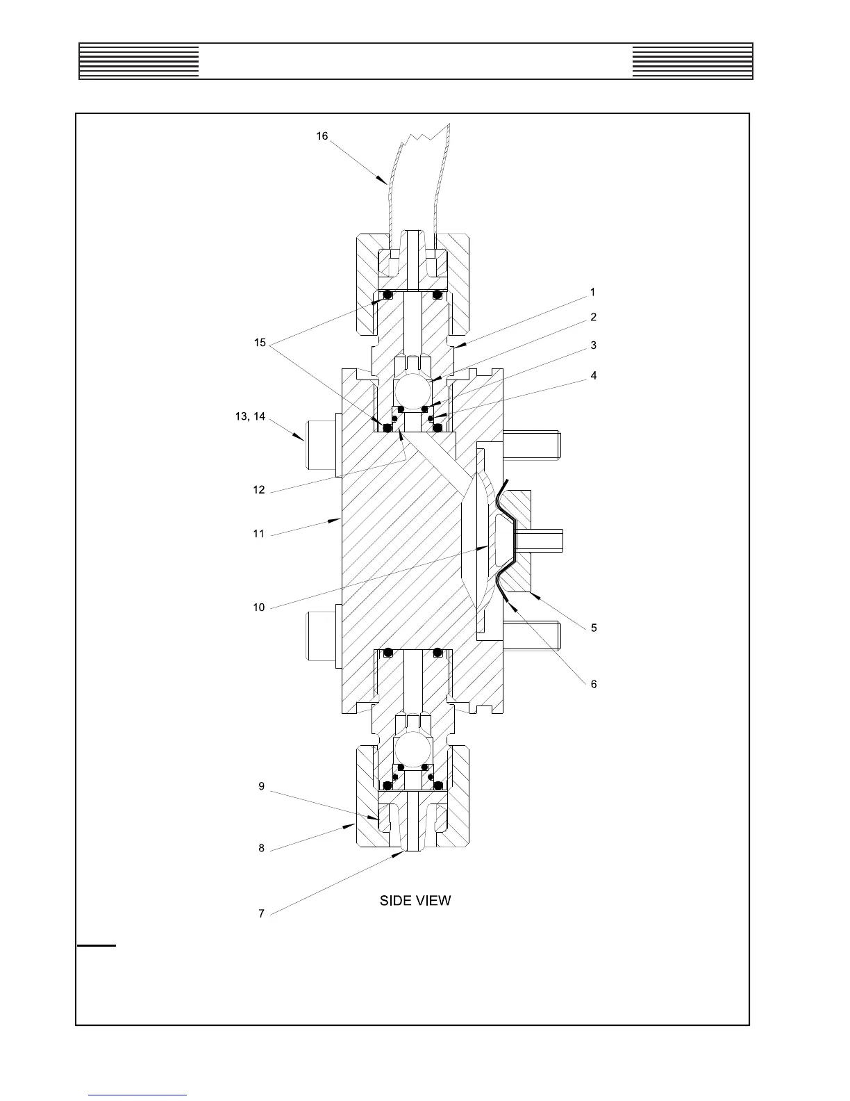
1-3/8” THREADED LIQUID END - PARTS
440.050.010.020A
ISSUE 1 2-98
NOTE: FOR PARTS LIST SEE DWG. 440.050.010.020B.
ENCORE
®
700 METERING PUMP
WT.440.400.001.UA.IM.1012

Table of Contents