EasyManua.ls Logo

Water Process Solutions Encore 700 - Page 103

Water Process Solutions Encore 700
128 pages
Print Icon
To Next Page IconTo Next Page
To Next Page IconTo Next Page
To Previous Page IconTo Previous Page
To Previous Page IconTo Previous Page
Loading...
ENCORE
®
700 METERING PUMP
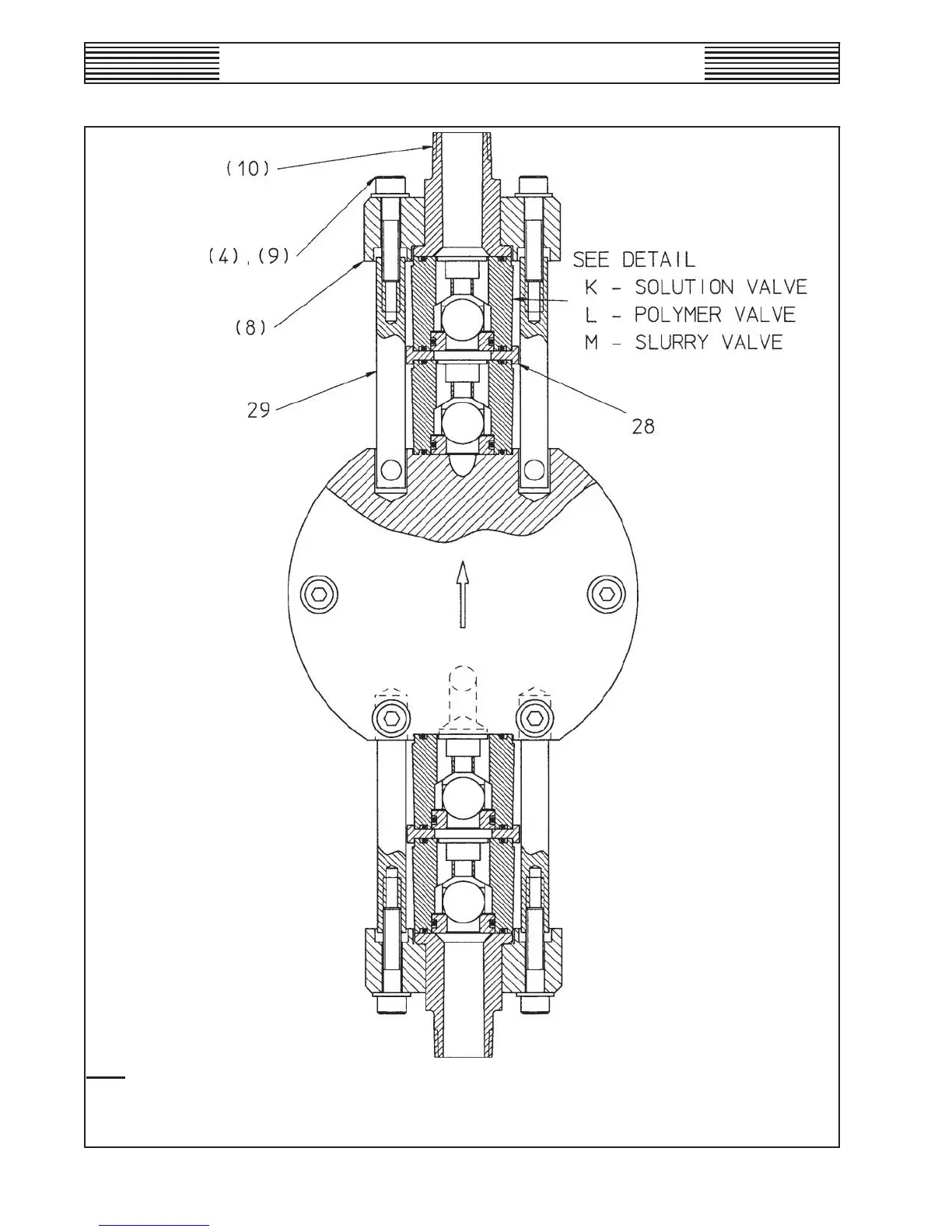
NOTE: FOR PARTS LIST SEE DWGS. 440.400.010.020C&D.
4” LIQUID END - PARTS
440.400.010.020B
ISSUE 2 4-09
WT.440.400.001.UA.IM.1012
89

Table of Contents