EasyManua.ls Logo

Water Process Solutions Encore 700 - Page 89

Water Process Solutions Encore 700
128 pages
Print Icon
To Next Page IconTo Next Page
To Next Page IconTo Next Page
To Previous Page IconTo Previous Page
To Previous Page IconTo Previous Page
Loading...
ENCORE
®
700 METERING PUMP
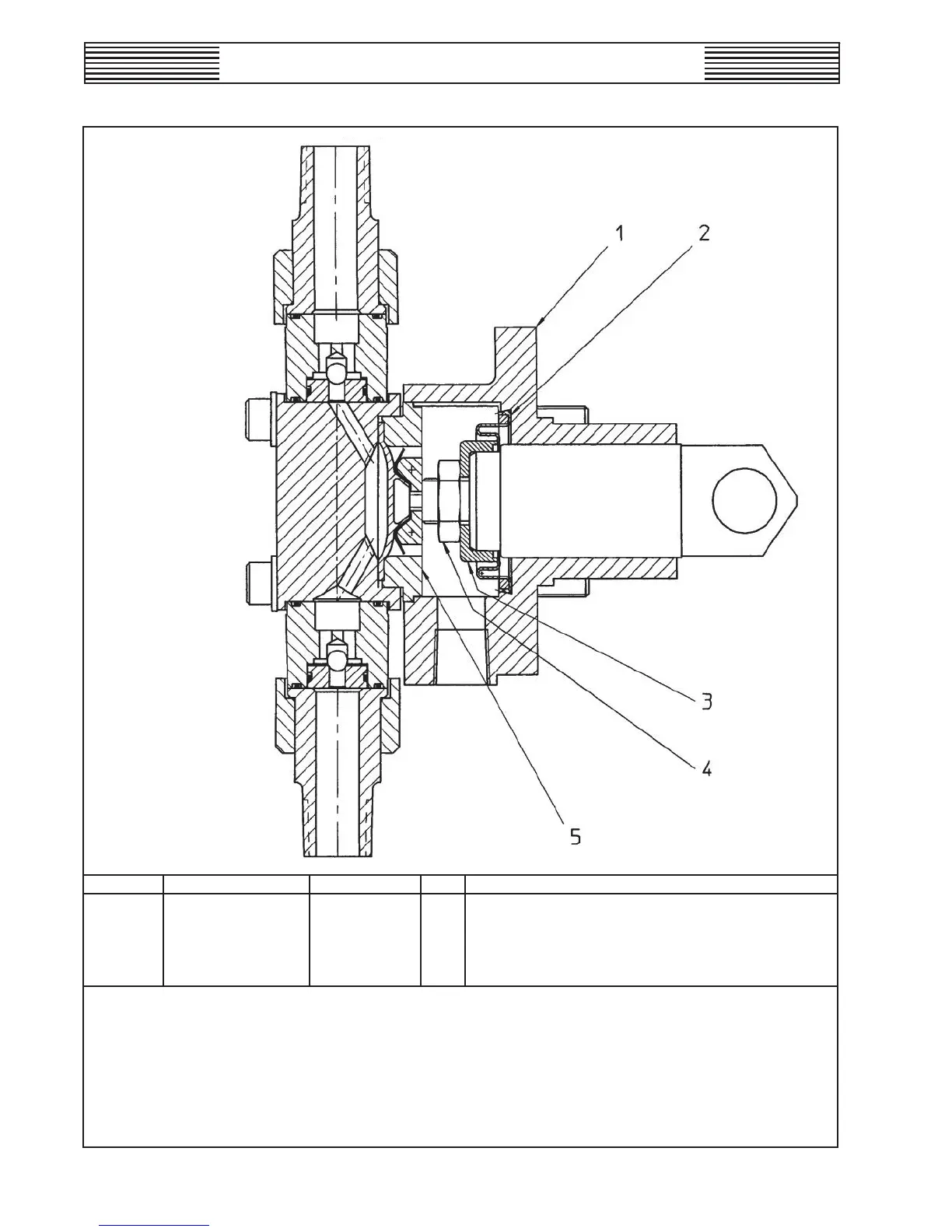
KEY NO.
LEGACY PART NO.
ALT PART NO.
QTY.
DESCRIPTION
*•
1
ALE4874
W2T367046
1
ADAPTER, 1.375" DIAPHRAGM
*•
2
AAB7205
W2T9156
1
SEAL, BELLOW, CROSSHEAD
3
AJA5915
W2T11357
1
CLAMP, DIAPHRAGM, BELLOW
4
AMK4863
W2T11047
1
NUT, M14x 1
5
AIA5111
W2T11335
1
SPACER, 1.375" DIAPHRAGM
NOTES:
PART OF APQ4097 (W3T99941).
*
W3T108212 ADAPTER WITH PRE-INSTALLED BELLOW SEAL CAN BE ORDERED IN PLACE OF KEY NO.'S 1 & 2.
WHEN ORDERING MATERIAL, ALWAYS SPECIFY MODEL AND SERIAL NUMBER OF APPARATUS.
1-3/8” LIQUID END ADAPTER - PARTS
440.400.001.030
ISSUE 2 1-10
WT.440.400.001.UA.IM.1012
75

Table of Contents